首页
专利数据库
产业人才
行业动态
产业政策法规
维权援助
个人中心
登录/注册
详情
文本
图像
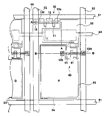
标题:
Electroluminescence display device
授权日:
2004-01-06
公开(公告)号:
US6674244
申请日:
2002-10-08
公开(公告)日:
2004-01-06
当前申请(专利权)人:
SANYO ELECTRIC CO., LTD.
发明人:
SEGAWA, YASUO
简单同族:
JP2000260571A | JP2000260571A5 | KR1020010014559A | TW450015B | US20030057862A1 | US6492778 | US6674244
简单同族成员数量:
7
简单同族被引用专利总数:
123
诉讼案件数:
0
法律状态/事件:
未缴年费