首页
专利数据库
产业人才
行业动态
产业政策法规
维权援助
个人中心
登录/注册
详情
文本
图像
标题:
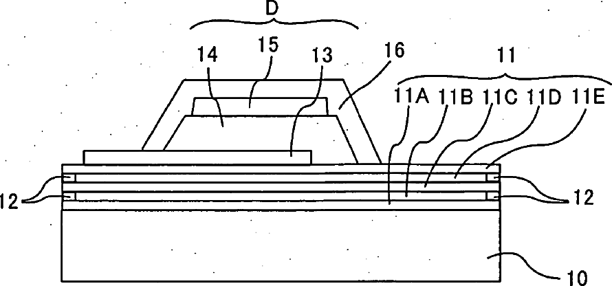
Multilayer barrier film structure and organic electroluminescent display panel and manufacturing method thereof
授权日:
1900-01-01
公开(公告)号:
US20050017633A1
申请日:
2003-09-23
公开(公告)日:
2005-01-27
当前申请(专利权)人:
PIONEER CORPORATION
发明人:
MIYADERA, TOSHIYUKI
简单同族:
JP2004119138A | JP4185341B2 | US20050017633A1 | US7208872
简单同族成员数量:
4
简单同族被引用专利总数:
142
诉讼案件数:
0
法律状态/事件:
未缴年费 | 权利转移