首页
专利数据库
产业人才
行业动态
产业政策法规
维权援助
个人中心
登录/注册
详情
文本
图像
标题:
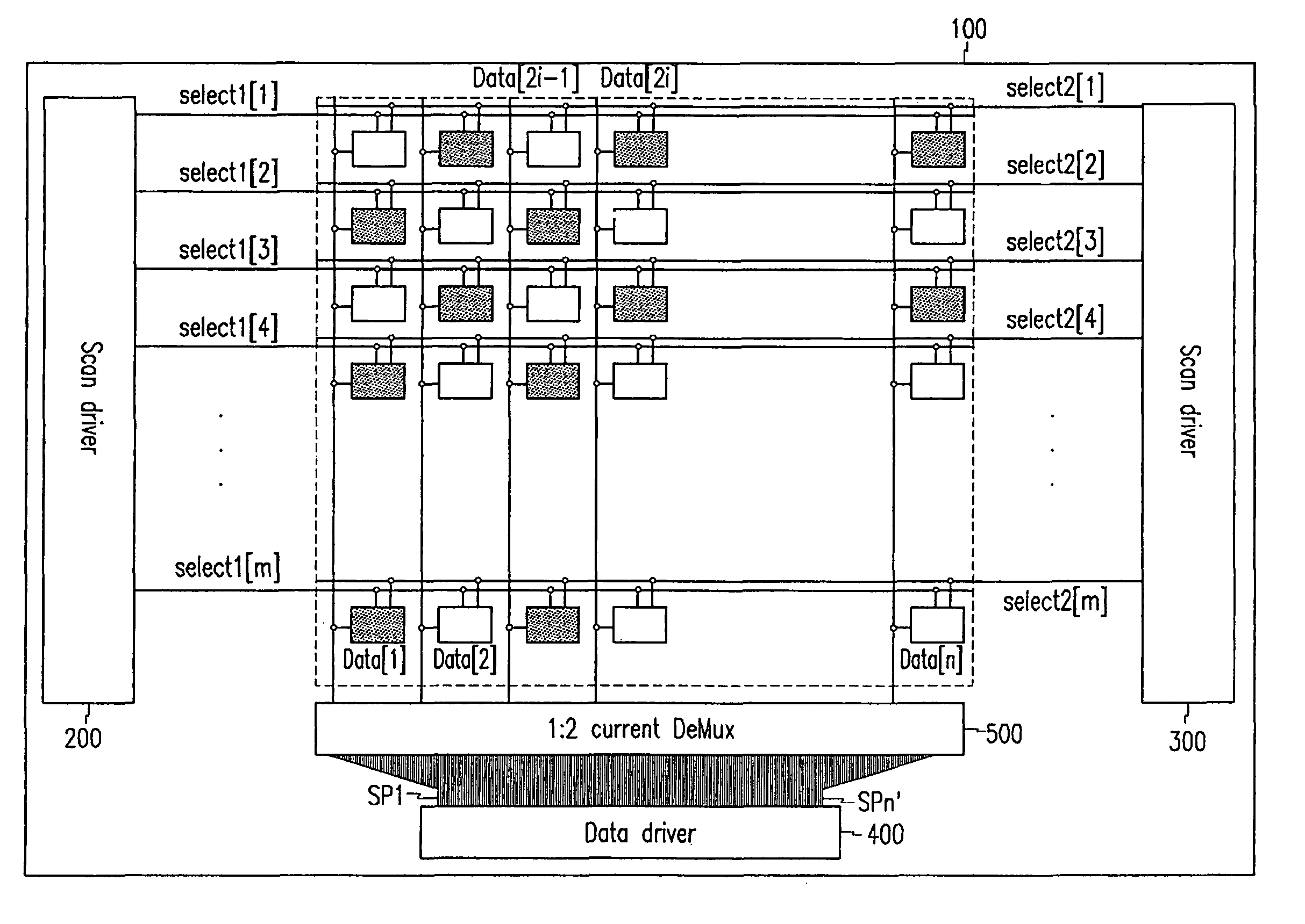
Display and driving method thereof
授权日:
2012-08-14
公开(公告)号:
US8243057
申请日:
2004-04-07
公开(公告)日:
2012-08-14
当前申请(专利权)人:
SAMSUNG DISPLAY CO., LTD.
发明人:
SHIN, DONG-YONG
简单同族:
CN100428311C | CN1577442A | JP2005049838A | KR100515318B1 | KR1020050014124A | US20050024297A1 | US8243057
简单同族成员数量:
7
简单同族被引用专利总数:
65
诉讼案件数:
0
法律状态/事件:
未缴年费 | 权利转移