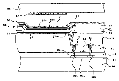
标题:
Organic EL element and organic EL panel
授权日:
2010-11-23
公开(公告)号:
US7839084
申请日:
2008-08-06
公开(公告)日:
2010-11-23
当前申请(专利权)人:
SANYO ELECTRIC CO., LTD.
发明人:
NISHIKAWA, RYUJI | OMURA, TETSUII
简单同族:
CN100477872C | CN1604708A | JP2005129510A | JP2005129510A5 | JP4716699B2 | KR100784052B1 | KR1020050031922A | KR1020060125652A | TW200512691A | TWI249149B | US20050073230A1 | US20080297043A1 | US7531958 | US7839084
简单同族成员数量:
14
简单同族被引用专利总数:
125
诉讼案件数:
0
法律状态/事件:
授权