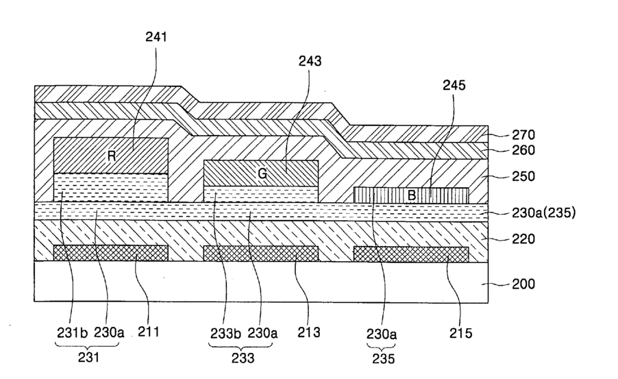
标题:
Method of fabricating organic light emitting display
授权日:
1900-01-01
公开(公告)号:
US20050196893A1
申请日:
2004-12-22
公开(公告)日:
2005-09-08
当前申请(专利权)人:
SAMSUNG DISPLAY CO., LTD.
发明人:
KIM, MU-HYUN | CHIN, BYUNG-DOO | LEE, SEONG-TAEK
简单同族:
CN1658718A | CN1658718B | JP2005235742A | KR100635056B1 | KR1020050082652A | US20050196893A1 | US8338222
简单同族成员数量:
7
简单同族被引用专利总数:
95
诉讼案件数:
0
法律状态/事件:
授权 | 权利转移