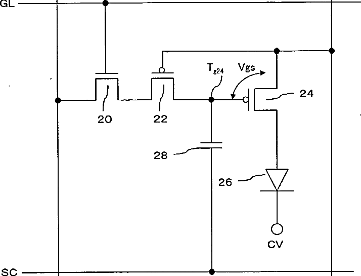
标题:
Pixel circuit and display apparatus
授权日:
1900-01-01
公开(公告)号:
US20060145960A1
申请日:
2004-11-08
公开(公告)日:
2006-07-06
当前申请(专利权)人:
SANYO ELECTRIC CO., LTD.
发明人:
KOGA, MASAYUKI | MARUMO, KOJI
简单同族:
JP2005157266A | JP4180018B2 | KR100679199B1 | KR1020060024347A | TW200521918A | TWI296790B | US20060145960A1 | US7477218 | WO2005045796A1
简单同族成员数量:
9
简单同族被引用专利总数:
115
诉讼案件数:
0
法律状态/事件:
授权 | 权利转移