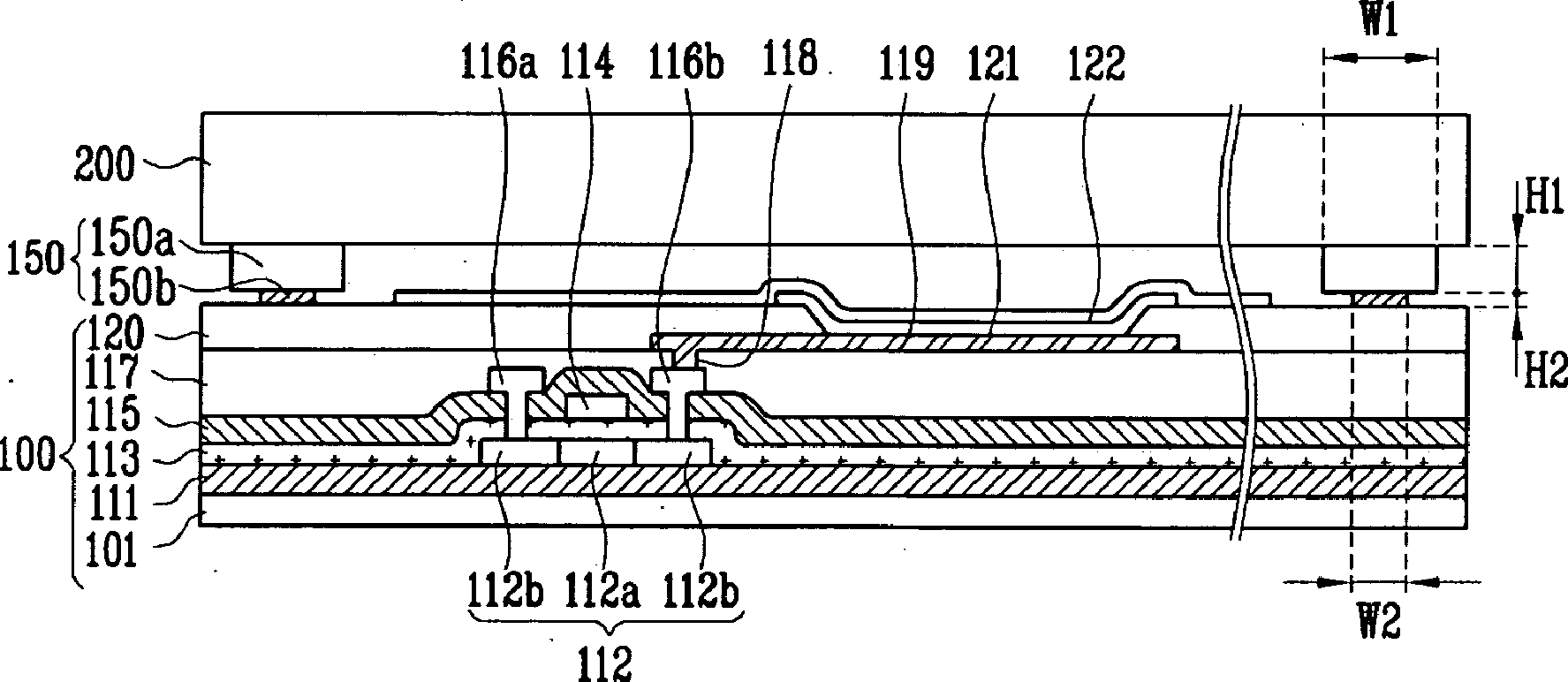
标题:
Organic light emitting display and method of fabricating the same
授权日:
1900-01-01
公开(公告)号:
US20070176549A1
申请日:
2006-09-29
公开(公告)日:
2007-08-02
当前申请(专利权)人:
SAMSUNG DISPLAY CO., LTD.
发明人:
PARK, JIN WOO
简单同族:
CN100524806C | CN101009319A | EP1814186A2 | EP1814186A3 | JP2007200836A | JP4554554B2 | KR100688790B1 | TW200730014A | TWI359624B | US20070176549A1 | US8125146
简单同族成员数量:
11
简单同族被引用专利总数:
126
诉讼案件数:
0
法律状态/事件:
未缴年费 | 权利转移