标题:
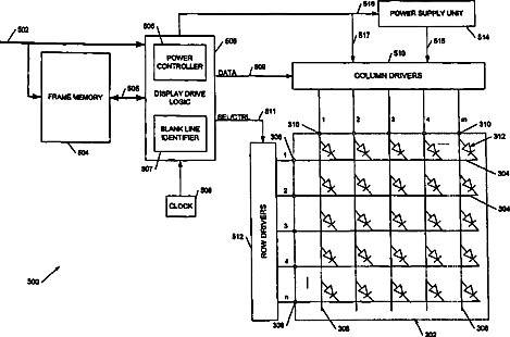
Display driver circuits for organic light emitting diode displays with skipping of blank lines, method of reducing power consumption of a display, processor control code to implement the method, and carrier for the control code
授权日:
2009-01-06
公开(公告)号:
US7474288
申请日:
2003-04-22
公开(公告)日:
2009-01-06
当前申请(专利权)人:
CAMBRIDGE DISPLAY TECHNOLOGY LIMITED
发明人:
SMITH, EUAN C. | ROUTLEY, PAUL R. | GOODCHILD, WILLIAM
简单同族:
GB0209502D0 | GB0211735D0 | JP2012118542A | US20050219163A1 | US20090091559A1 | US7474288 | US8188949
简单同族成员数量:
7
简单同族被引用专利总数:
70
诉讼案件数:
0
法律状态/事件:
授权 | 权利转移