首页
专利数据库
产业人才
行业动态
产业政策法规
维权援助
个人中心
登录/注册
详情
文本
图像
标题:
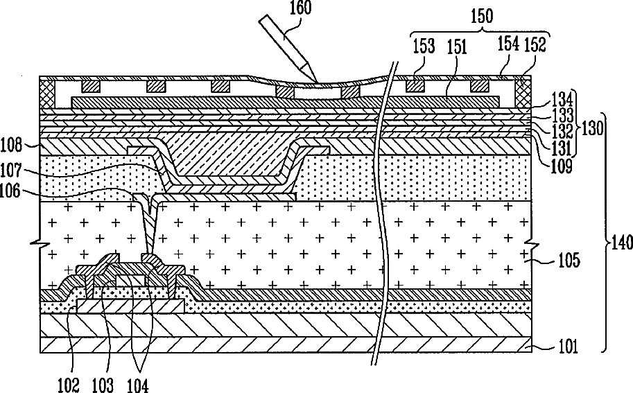
Organic light emitting display device
授权日:
1900-01-01
公开(公告)号:
US20080278070A1
申请日:
2008-05-08
公开(公告)日:
2008-11-13
当前申请(专利权)人:
SAMSUNG DISPLAY CO., LTD.
发明人:
KIM, HYEONG-GWON
简单同族:
KR100873080B1 | KR1020080099684A | US20080278070A1 | US7936121
简单同族成员数量:
4
简单同族被引用专利总数:
115
诉讼案件数:
0
法律状态/事件:
授权 | 权利转移