首页
专利数据库
产业人才
行业动态
产业政策法规
维权援助
个人中心
登录/注册
详情
文本
图像
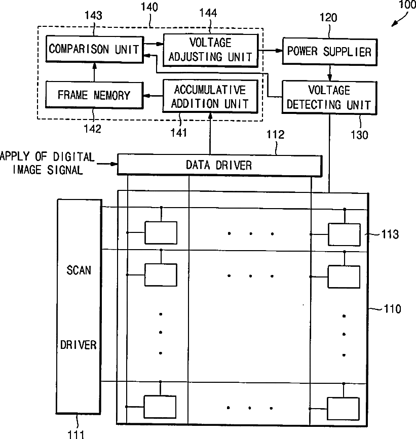
标题:
Organic light emitting display and driving method thereof
授权日:
1900-01-01
公开(公告)号:
US20080266216A1
申请日:
2008-04-23
公开(公告)日:
2008-10-30
当前申请(专利权)人:
SAMSUNG DISPLAY CO., LTD.
发明人:
CHOI, SANGMOO
简单同族:
CN101295464A | CN101295464B | EP1986179A2 | EP1986179A3 | JP2008268914A | KR100914118B1 | KR1020080095462A | US20080266216A1 | US9105237
简单同族成员数量:
9
简单同族被引用专利总数:
129
诉讼案件数:
0
法律状态/事件:
授权 | 权利转移