标题:
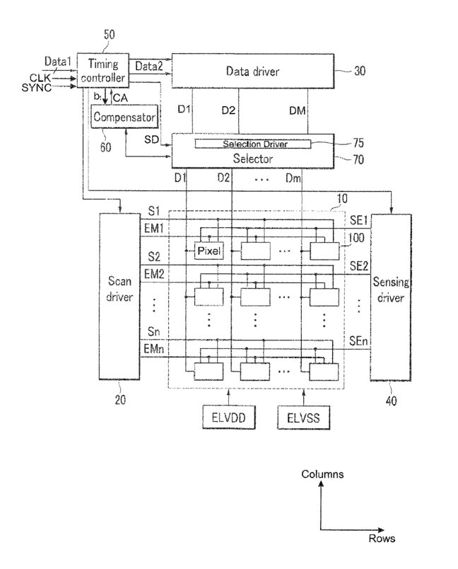
Organic Light Emitting Display and Driving Method Thereof
授权日:
1900-01-01
公开(公告)号:
US20110205250A1
申请日:
2010-08-31
公开(公告)日:
2011-08-25
当前申请(专利权)人:
SAMSUNG DISPLAY CO., LTD.
发明人:
YOO, MYOUNG-HWAN | OH, CHOON-YUL | KWON, OH-KYONG
简单同族:
CN102163402A | CN102163402B | JP2011175226A | JP5761776B2 | KR101201722B1 | KR1020110096877A | TW201133449A | TWI549108B | US20110205250A1 | US8599224
简单同族成员数量:
10
简单同族被引用专利总数:
138
诉讼案件数:
0
法律状态/事件:
授权 | 权利转移