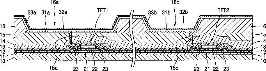
标题:
Organic electroluminescence display device
授权日:
2009-09-08
公开(公告)号:
US7586254
申请日:
2005-05-19
公开(公告)日:
2009-09-08
当前申请(专利权)人:
SAMSUNG DISPLAY CO., LTD.
发明人:
KWAK, WON-KYU | LEE, KWAN-HEE | PARK, SUNG-CHEON
简单同族:
CN1700830A | CN1700830B | JP2005338769A | JP4012908B2 | KR100581913B1 | KR1020050111488A | US20050258744A1 | US7586254
简单同族成员数量:
8
简单同族被引用专利总数:
83
诉讼案件数:
0
法律状态/事件:
授权 | 权利转移