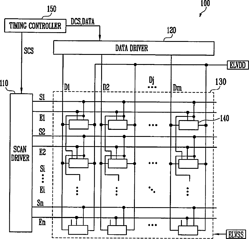
标题:
Pixel, organic light emitting display using the same, and associated methods
授权日:
1900-01-01
公开(公告)号:
US20080224965A1
申请日:
2008-03-03
公开(公告)日:
2008-09-18
当前申请(专利权)人:
SAMSUNG DISPLAY CO., LTD.
发明人:
KIM, YANG-WAN
简单同族:
CN101266757A | CN101266757B | EP1970885A1 | JP2008225432A | JP4932601B2 | KR100873076B1 | KR1020080084017A | US20080224965A1 | US8111219
简单同族成员数量:
9
简单同族被引用专利总数:
105
诉讼案件数:
0
法律状态/事件:
授权 | 权利转移