首页
专利数据库
产业人才
行业动态
产业政策法规
维权援助
个人中心
登录/注册
详情
文本
图像
标题:
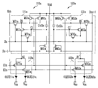
Pixel circuit and light emitting display
授权日:
2010-08-10
公开(公告)号:
US7773056
申请日:
2005-11-14
公开(公告)日:
2010-08-10
当前申请(专利权)人:
SAMSUNG DISPLAY CO., LTD.
发明人:
KWAK, WON KYU | PARK, SUNG CHEON
简单同族:
JP2006146213A | JP4307436B2 | KR100739318B1 | KR1020060056791A | US20060114193A1 | US7773056
简单同族成员数量:
6
简单同族被引用专利总数:
68
诉讼案件数:
0
法律状态/事件:
授权 | 权利转移