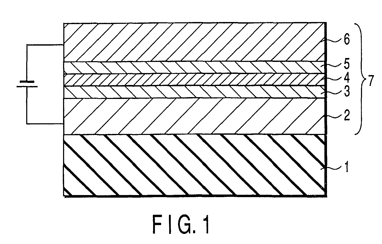
标题:
Organic electroluminescent device and display apparatus
授权日:
1900-01-01
公开(公告)号:
EP1220341A2
申请日:
2001-12-24
公开(公告)日:
2002-07-03
当前申请(专利权)人:
KABUSHIKI KAISHA TOSHIBA
发明人:
NAITO, KATSUYUKI, KK TOSHIBA
简单同族:
DE60134618D1 | EP1220341A2 | EP1220341A3 | EP1220341B1 | KR100426919B1 | KR1020020055425A | US20020106531A1 | US6790538
简单同族成员数量:
8
简单同族被引用专利总数:
67
诉讼案件数:
0
法律状态/事件:
权利终止