标题:
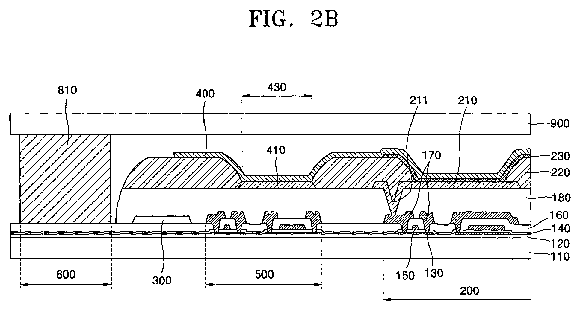
Electroluminescence display device
授权日:
1900-01-01
公开(公告)号:
EP1575090A2
申请日:
2005-03-07
公开(公告)日:
2005-09-14
当前申请(专利权)人:
SAMSUNG MOBILE DISPLAY CO., LTD.
发明人:
KWAK, WON-KYU | LEE, KWAN-HEE
简单同族:
CN1668152A | CN1668152B | EP1575090A2 | EP1575090A3 | EP1575090B1 | JP2005258395A | JP3940738B2 | KR100581903B1 | KR1020050090586A | US20050200270A1 | US20110298391A1 | US8026667 | US8247968
简单同族成员数量:
13
简单同族被引用专利总数:
97
诉讼案件数:
0
法律状态/事件:
授权 | 权利转移