首页
专利数据库
产业人才
行业动态
产业政策法规
维权援助
个人中心
登录/注册
详情
文本
图像
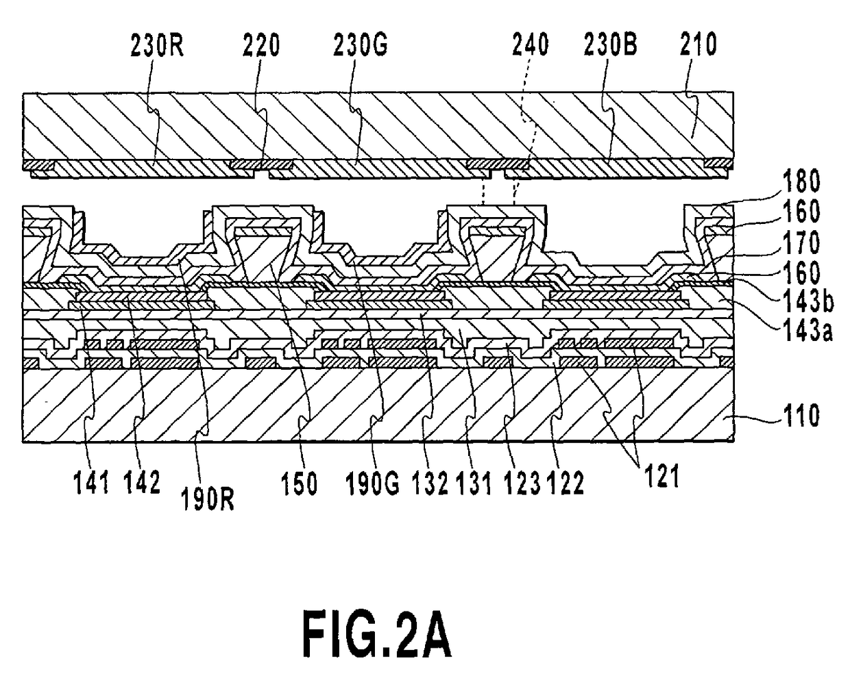
标题:
Organic el display
授权日:
1900-01-01
公开(公告)号:
EP2503851A1
申请日:
2009-11-17
公开(公告)日:
2012-09-26
当前申请(专利权)人:
UNIFIED INNOVATIVE TECHNOLOGY, LLC
发明人:
NAKAMURA, HIDEYO
简单同族:
CN102668706A | CN102668706B | EP2503851A1 | EP2503851A4 | EP2503851B1 | JP5791514B2 | JPWO2011061789A1 | TW201125421A | TWI593306B | US20120228603A1 | US20160190508A1 | US9929370 | WO2011061789A1
简单同族成员数量:
13
简单同族被引用专利总数:
88
诉讼案件数:
0
法律状态/事件:
授权 | 权利转移