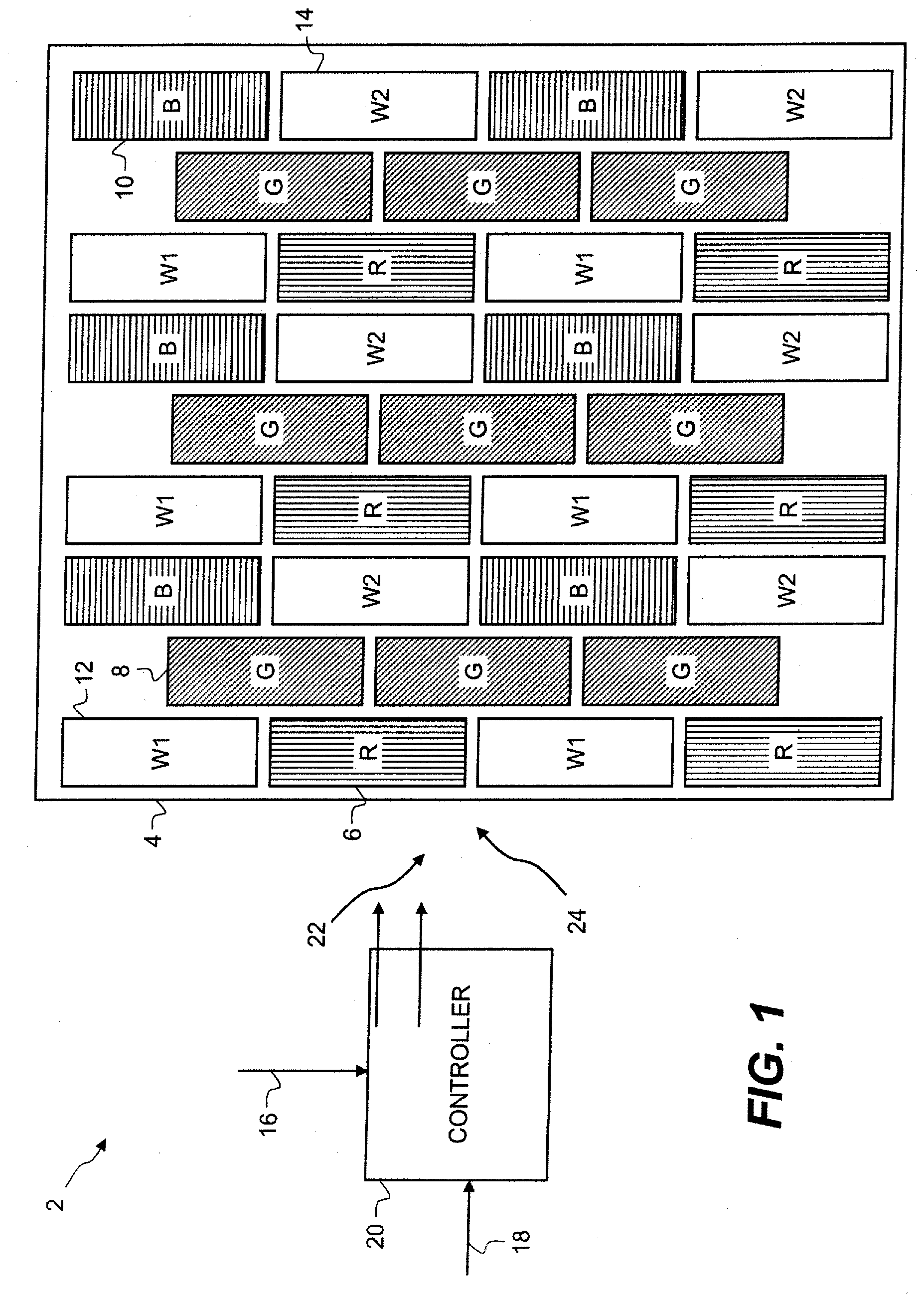
标题:
Electro-luminescent display with additional primaries and adjustable white point
授权日:
2017-04-26
公开(公告)号:
EP2430630B1
申请日:
2010-05-07
公开(公告)日:
2017-04-26
当前申请(专利权)人:
GLOBAL OLED TECHNOLOGY LLC
发明人:
MILLER, MICHAEL, E. | BOROSON, MICHAEL, L.
简单同族:
CN102422341A | CN102422341B | EP2430630A1 | EP2430630B1 | JP2012527011A | JP5426020B2 | KR101270187B1 | KR1020120017066A | TW201101276A | TWI376668B | US20100289727A1 | US8237633 | WO2010132295A1
简单同族成员数量:
13
简单同族被引用专利总数:
66
诉讼案件数:
0
法律状态/事件:
授权