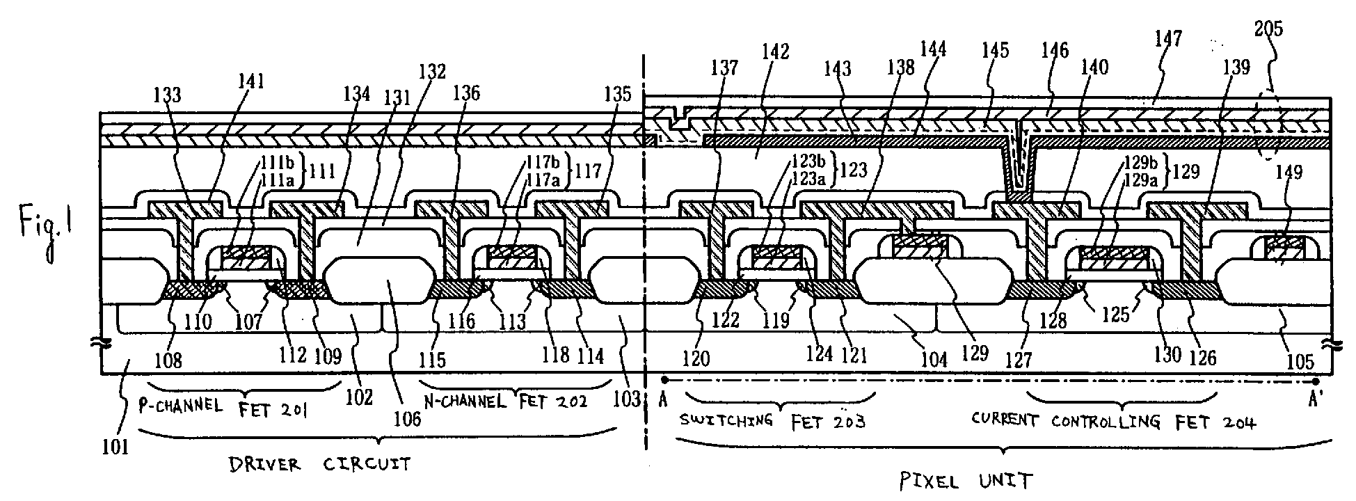
标题:
Organic electroluminescent display device
授权日:
1900-01-01
公开(公告)号:
EP1777994A3
申请日:
2000-09-29
公开(公告)日:
2007-08-01
当前申请(专利权)人:
SEMICONDUCTOR ENERGY LABORATORY CO., LTD.
发明人:
YAMAZAKI, SHUNPEI | ARAI, YASUYUKI
简单同族:
CN1269227C | CN1290966A | CN1877851A | DE60033103D1 | DE60033103T2 | DE60039733D1 | EP1089595A2 | EP1089595A3 | EP1089595B1 | EP1777994A2 | EP1777994A3 | EP1777994B1 | KR100747418B1 | KR1020010039961A | US20050156173A1 | US20110062461A1 | US20130234122A1 | US20140312334A1 | US6876145 | US7838883 | US8426876 | US8772766 | US9853235
简单同族成员数量:
23
简单同族被引用专利总数:
85
诉讼案件数:
0
法律状态/事件:
权利终止