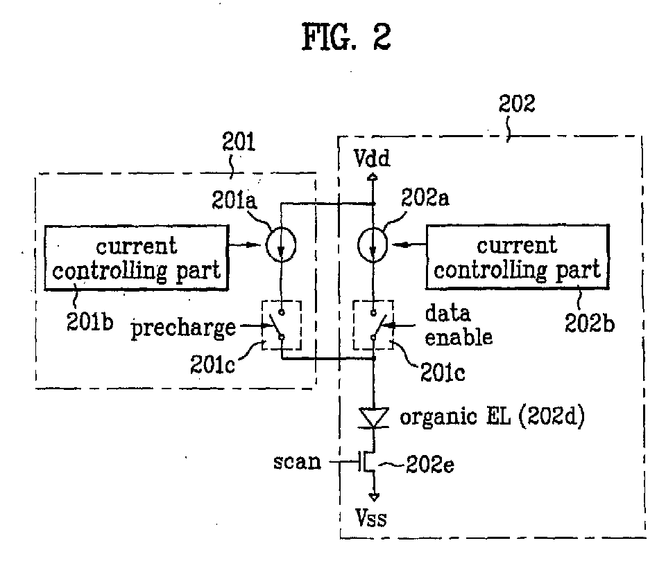
标题:
Circuit and method for driving display of current driven type
授权日:
1900-01-01
公开(公告)号:
EP1274065A3
申请日:
2002-07-05
公开(公告)日:
2004-03-24
当前申请(专利权)人:
LG ELECTRONICS INC.
发明人:
KIM, HAK SU | NA, YOUNG SUN | KWON, OH KYONG
简单同族:
CN1211771C | CN1402215A | EP1274065A2 | EP1274065A3 | JP2003043997A | US20030006713A1 | US6667580
简单同族成员数量:
7
简单同族被引用专利总数:
117
诉讼案件数:
0
法律状态/事件:
撤回