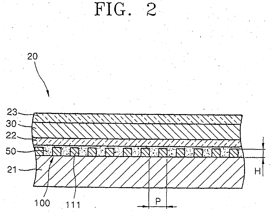
标题:
Assembly of organic electroluminescence display device
授权日:
1900-01-01
公开(公告)号:
EP1471587A2
申请日:
2004-03-05
公开(公告)日:
2004-10-27
当前申请(专利权)人:
SAMSUNG DISPLAY CO., LTD.
发明人:
CHO, SANG-HWAN, C/O 245-1804 SSANGYONG APT. | DO, YOUNG-RAG, C/O 108-501 MUAK HYUNDAI APT. | KIM, YOON-CHANG, C/O 234-1103 POONGRIM APT. | AHN, JI-HOON | LEE, JOON-GU, C/O 608-704 EUNBIT MAUL
简单同族:
CN1571595A | CN1571595B | EP1471587A2 | EP1471587A3 | EP1471587B1 | JP2004273416A | JP4467931B2 | KR100563046B1 | KR1020040079080A | US20040183433A1 | US7084565
简单同族成员数量:
11
简单同族被引用专利总数:
89
诉讼案件数:
0
法律状态/事件:
授权 | 权利转移