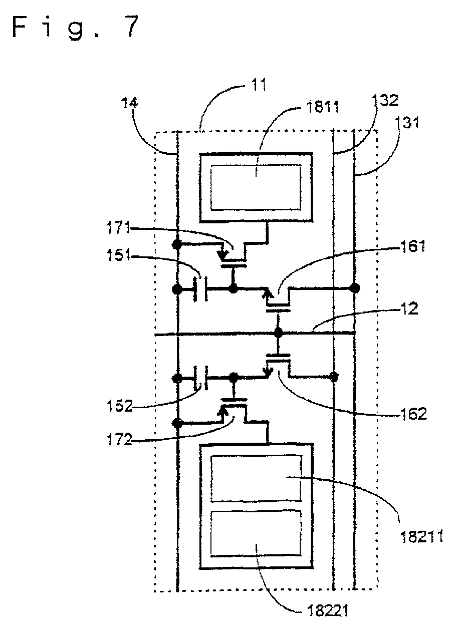
标题:
Organic electroluminescent display device
授权日:
1900-01-01
公开(公告)号:
EP1288903A3
申请日:
2000-01-18
公开(公告)日:
2003-06-25
当前申请(专利权)人:
SEIKO EPSON CORPORATION
发明人:
KIMURA, MUTSUMI, SEIKO EPSON CORPORATION
简单同族:
CN1123799C | CN1263279A | DE60004574D1 | DE60004574T2 | EP1024472A2 | EP1024472A3 | EP1024472B1 | EP1288903A2 | EP1288903A3 | JP2000284727A | JP2000284727A5 | JP4092827B2 | KR100467905B1 | KR100664450B1 | KR1020000052429A | KR1020000053629A | TW507185B | US20020011793A1 | US20020105280A1 | US20020195969A1 | US6225750 | US6388389 | US6469450 | US6642665
简单同族成员数量:
24
简单同族被引用专利总数:
115
诉讼案件数:
0
法律状态/事件:
撤回