首页
专利数据库
产业人才
行业动态
产业政策法规
维权援助
个人中心
登录/注册
详情
文本
图像
标题:
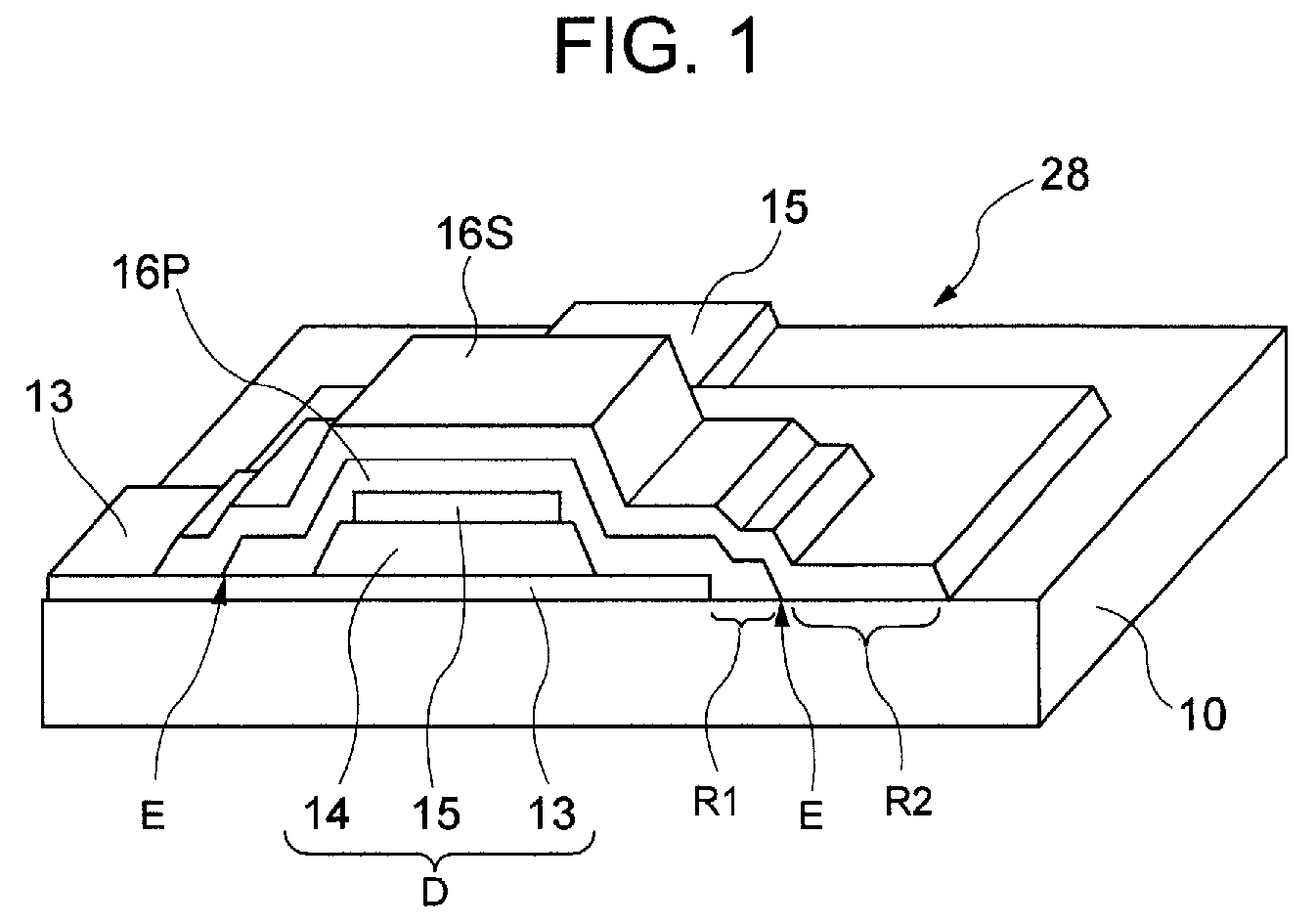
Organic electroluminescene display panel and fabrication method thereof
授权日:
1900-01-01
公开(公告)号:
EP1460697A3
申请日:
2004-03-12
公开(公告)日:
2006-05-10
当前申请(专利权)人:
PIONEER CORPORATION
发明人:
KUBOTA, HIROFUMI
简单同族:
CN1531381A | EP1460697A2 | EP1460697A3 | JP2004281247A | US20040232832A1 | US20060275540A1
简单同族成员数量:
6
简单同族被引用专利总数:
93
诉讼案件数:
0
法律状态/事件:
撤回 | 权利转移