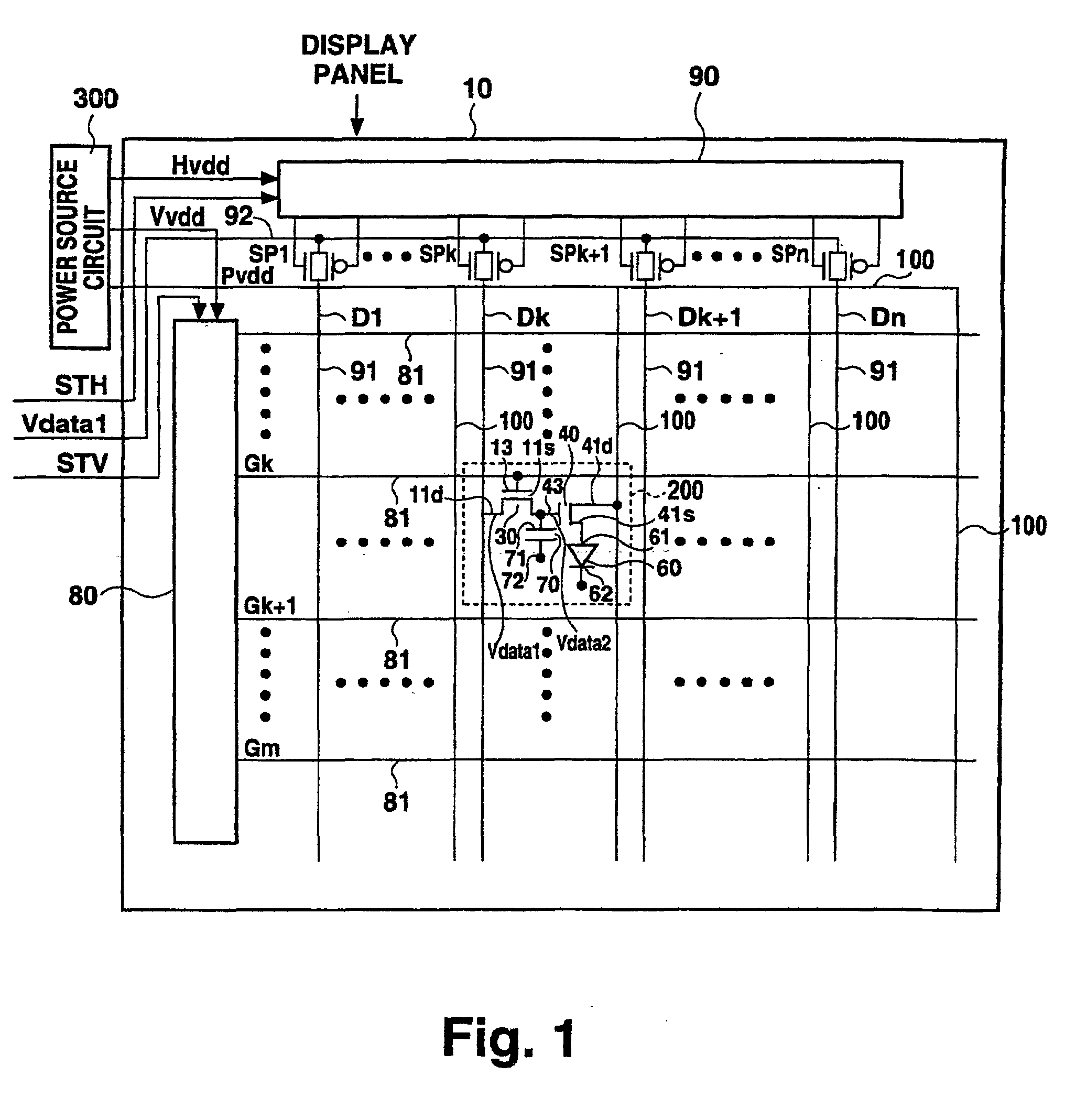
标题:
Active matrix electroluminescent display device
授权日:
2005-03-16
公开(公告)号:
EP1139326B1
申请日:
2001-03-28
公开(公告)日:
2005-03-16
当前申请(专利权)人:
SANYO ELECTRIC CO., LTD.
发明人:
KOMIYA, NAOAKI
简单同族:
CN100504993C | CN101546516A | CN1320899A | DE60109338D1 | DE60109338T2 | EP1139326A2 | EP1139326A3 | EP1139326B1 | KR100420907B1 | KR1020010106170A | TW577241B | US20020011973A1 | US6653996
简单同族成员数量:
13
简单同族被引用专利总数:
87
诉讼案件数:
0
法律状态/事件:
授权