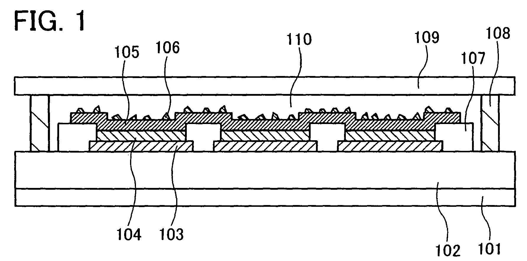
标题:
Light emitting device, manufacturing method of light emitting device, and sheet-like sealing material
授权日:
1900-01-01
公开(公告)号:
EP1830421A2
申请日:
2007-02-13
公开(公告)日:
2007-09-05
当前申请(专利权)人:
SEMICONDUCTOR ENERGY LABORATORY CO., LTD.
发明人:
HIRAKATA, YOSHIHARU
简单同族:
CN101030627A | CN101030627B | EP1830421A2 | EP1830421A3 | JP2012151122A | JP5364811B2 | KR101460294B1 | KR101477267B1 | KR101563232B1 | KR1020070090749A | KR1020130119893A | KR1020140106474A | TW200738055A | TWI496509B | US20080018231A1 | US20130309933A1 | US8492972 | US8968044
简单同族成员数量:
18
简单同族被引用专利总数:
87
诉讼案件数:
0
法律状态/事件:
撤回