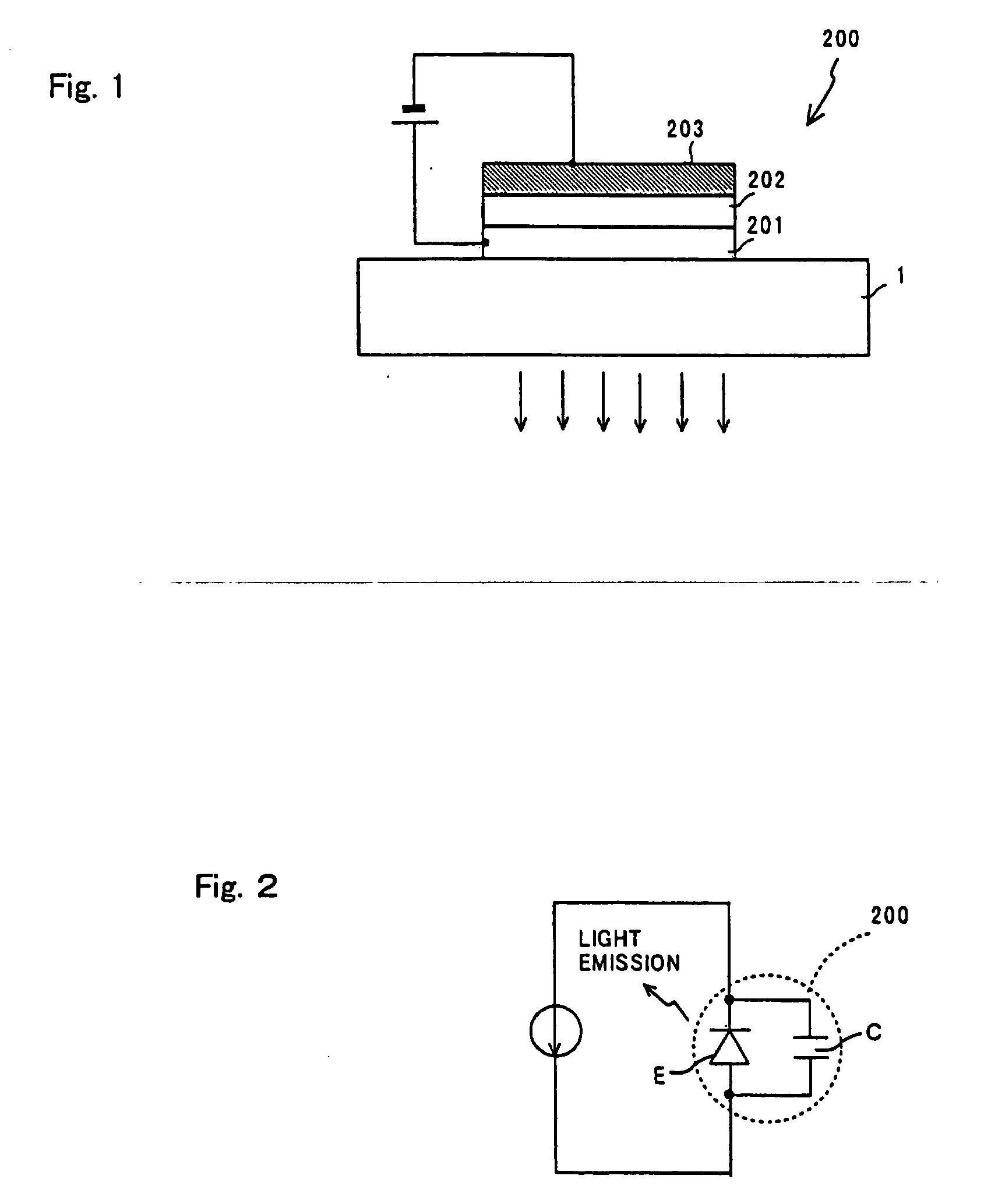
标题:
Switching element and electroluminescence element display device
授权日:
2007-05-02
公开(公告)号:
EP1033765B1
申请日:
2000-02-29
公开(公告)日:
2007-05-02
当前申请(专利权)人:
PIONEER CORPORATION
发明人:
IMAI, KUNIO, PIONEER CORPORATION, CORPORATE RESEAR
简单同族:
DE60034612D1 | DE60034612T2 | EP1033765A2 | EP1033765A3 | EP1033765B1 | JP2000252550A | JP3850005B2 | US6836067
简单同族成员数量:
8
简单同族被引用专利总数:
88
诉讼案件数:
0
法律状态/事件:
权利终止