首页
专利数据库
产业人才
行业动态
产业政策法规
维权援助
个人中心
登录/注册
详情
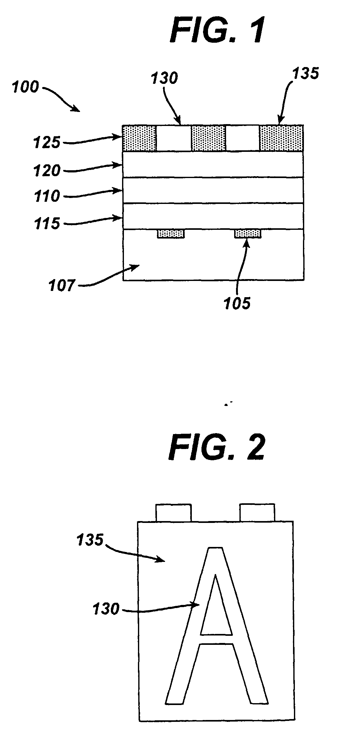
文本
图像
标题:
Outdoor electroluminescent display devices
授权日:
2009-01-07
公开(公告)号:
EP1164817B1
申请日:
2001-06-08
公开(公告)日:
2009-01-07
当前申请(专利权)人:
GENERAL ELECTRIC COMPANY
发明人:
DUGGAL, ANIL RAJ | TURNER, LARRY GENE
简单同族:
DE60137284D1 | EP1164817A2 | EP1164817A3 | EP1164817B1 | JP2002117970A | JP2002117970A5 | TWI221748B | US6501218
简单同族成员数量:
8
简单同族被引用专利总数:
69
诉讼案件数:
0
法律状态/事件:
授权