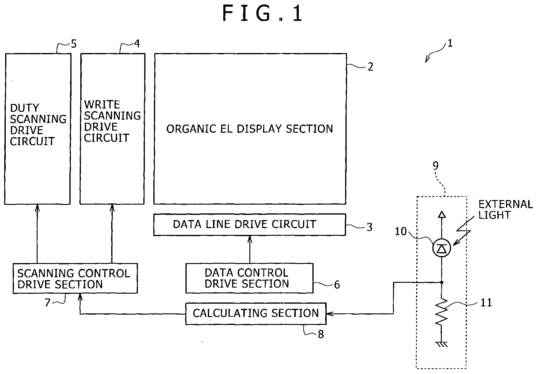
标题:
Active matrix display device and method of driving the same
授权日:
1900-01-01
公开(公告)号:
EP1589518A2
申请日:
2005-04-19
公开(公告)日:
2005-10-26
当前申请(专利权)人:
SONY CORPORATION
发明人:
KAWASE, KIMITAKA, C/O SONY CORPORATION
简单同族:
CN100399395C | CN1691112A | EP1589518A2 | EP1589518A3 | JP2005308857A | KR1020060046635A | TW200625241A | US20050253835A1
简单同族成员数量:
8
简单同族被引用专利总数:
85
诉讼案件数:
0
法律状态/事件:
撤回