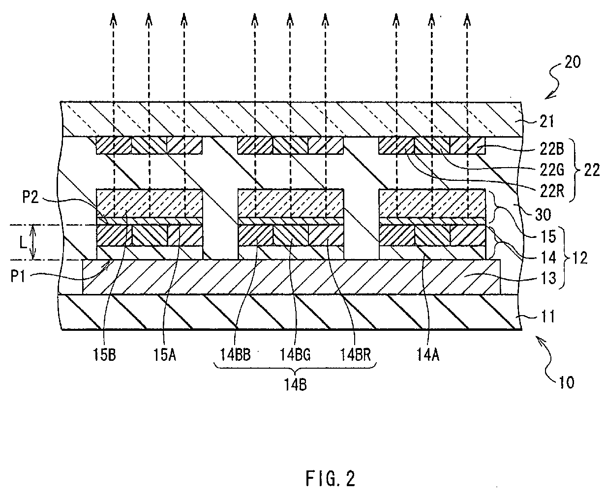
标题:
Light emitting device and display unit using it
授权日:
1900-01-01
公开(公告)号:
EP1424732A2
申请日:
2003-11-24
公开(公告)日:
2004-06-02
当前申请(专利权)人:
SONY CORPORATION
发明人:
NISHIMURA, TEIICHIRO | NISHIGUCHI, MASAO | KAGAMI, KEIICHI | YAMADA, JIRO
简单同族:
CN100367529C | CN1523940A | EP1424732A2 | EP1424732A3 | JP2004178930A | KR1020040047638A | TW200425772A | TWI284004B | US20040160154A1 | US6993214
简单同族成员数量:
10
简单同族被引用专利总数:
74
诉讼案件数:
0
法律状态/事件:
撤回