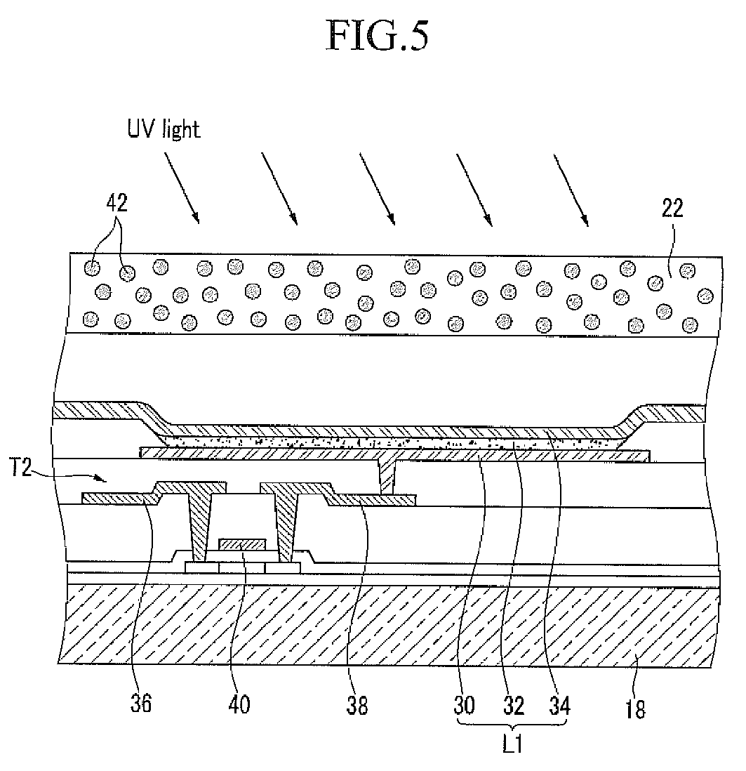
标题:
Organic light emitting diode display
授权日:
1900-01-01
公开(公告)号:
EP2202820A1
申请日:
2009-12-21
公开(公告)日:
2010-06-30
当前申请(专利权)人:
SAMSUNG MOBILE DISPLAY CO., LTD.
发明人:
PARK, SOON-RYONG | JUNG, WOO-SUK | JEON, HEE-CHUL | KIM, EUN-AH | JEONG, HEE-SEONG | KWAK, NOH-MIN | JEONG, CHUL-WOO | LEE, JOO-HWA
简单同族:
CN101764145A | CN101764145B | EP2202820A1 | EP2202820B1 | JP2010153352A | JP4995235B2 | KR101002659B1 | KR1020100073654A | US10680209 | US20100156765A1 | US20170207423A1
简单同族成员数量:
11
简单同族被引用专利总数:
65
诉讼案件数:
0
法律状态/事件:
授权