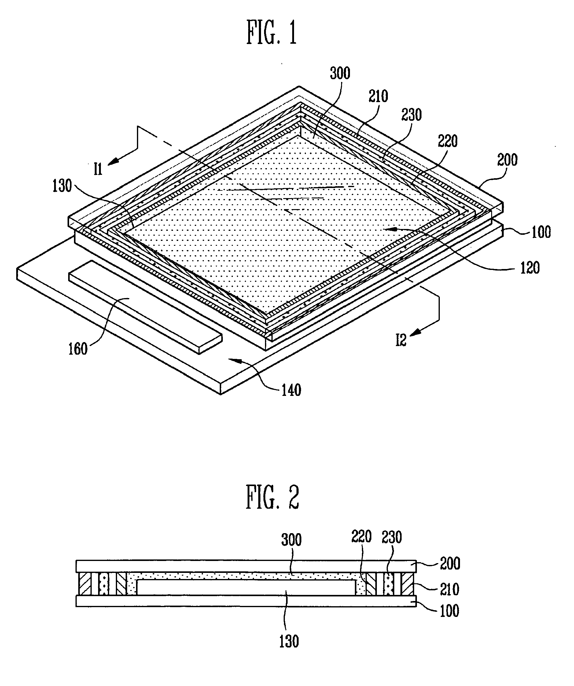
标题:
Organic Light Emitting Display Device
授权日:
2012-06-20
公开(公告)号:
EP2234187B1
申请日:
2010-02-24
公开(公告)日:
2012-06-20
当前申请(专利权)人:
SAMSUNG MOBILE DISPLAY CO., LTD.
发明人:
RYU, JI-HUN | KWON, OH-JUNE | CHOI, YOUNG-SEO | SONG, SEUNG-YONG
简单同族:
CN101847650A | CN101847650B | EP2234187A1 | EP2234187B1 | JP2010225569A | JP4981101B2 | KR100993415B1 | KR1020100106796A | TW201036480A | TWI413444B | US20100244057A1 | US8357929
简单同族成员数量:
12
简单同族被引用专利总数:
78
诉讼案件数:
0
法律状态/事件:
授权