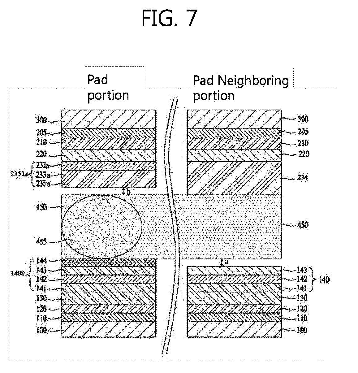
标题:
Organic light emitting display and method for manufacturing the same
授权日:
1900-01-01
公开(公告)号:
EP2698821A3
申请日:
2012-12-24
公开(公告)日:
2014-10-29
当前申请(专利权)人:
LG DISPLAY CO., LTD.
发明人:
CHOI, HO-WON | KIM, JIN-YEOL
简单同族:
CN103594483A | CN103594483B | EP2698821A2 | EP2698821A3 | EP2698821B1 | JP2014039003A | JP5670994B2 | KR101469485B1 | KR1020140022223A | TW201407765A | TWI517377B | US20140042398A1 | US20150011030A1 | US8872168 | US9184409
简单同族成员数量:
15
简单同族被引用专利总数:
83
诉讼案件数:
0
法律状态/事件:
授权