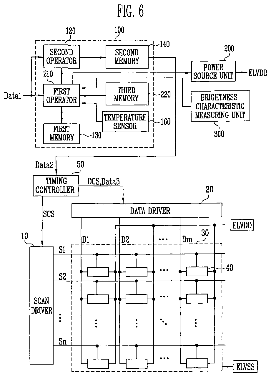
标题:
Organic light emitting display and method of driving the same
授权日:
1900-01-01
公开(公告)号:
EP2068299A2
申请日:
2008-12-05
公开(公告)日:
2009-06-10
当前申请(专利权)人:
SAMSUNG DISPLAY CO., LTD.
发明人:
KIM, DO-IK
简单同族:
CN101452668A | CN101452668B | EP2068299A2 | EP2068299A3 | JP2009141302A | JP5026293B2 | KR100902219B1 | KR1020090058788A | TW200935386A | TWI415069B | US20090147032A1 | US8791884
简单同族成员数量:
12
简单同族被引用专利总数:
106
诉讼案件数:
0
法律状态/事件:
驳回 | 权利转移