首页
专利数据库
产业人才
行业动态
产业政策法规
维权援助
个人中心
登录/注册
详情
文本
图像
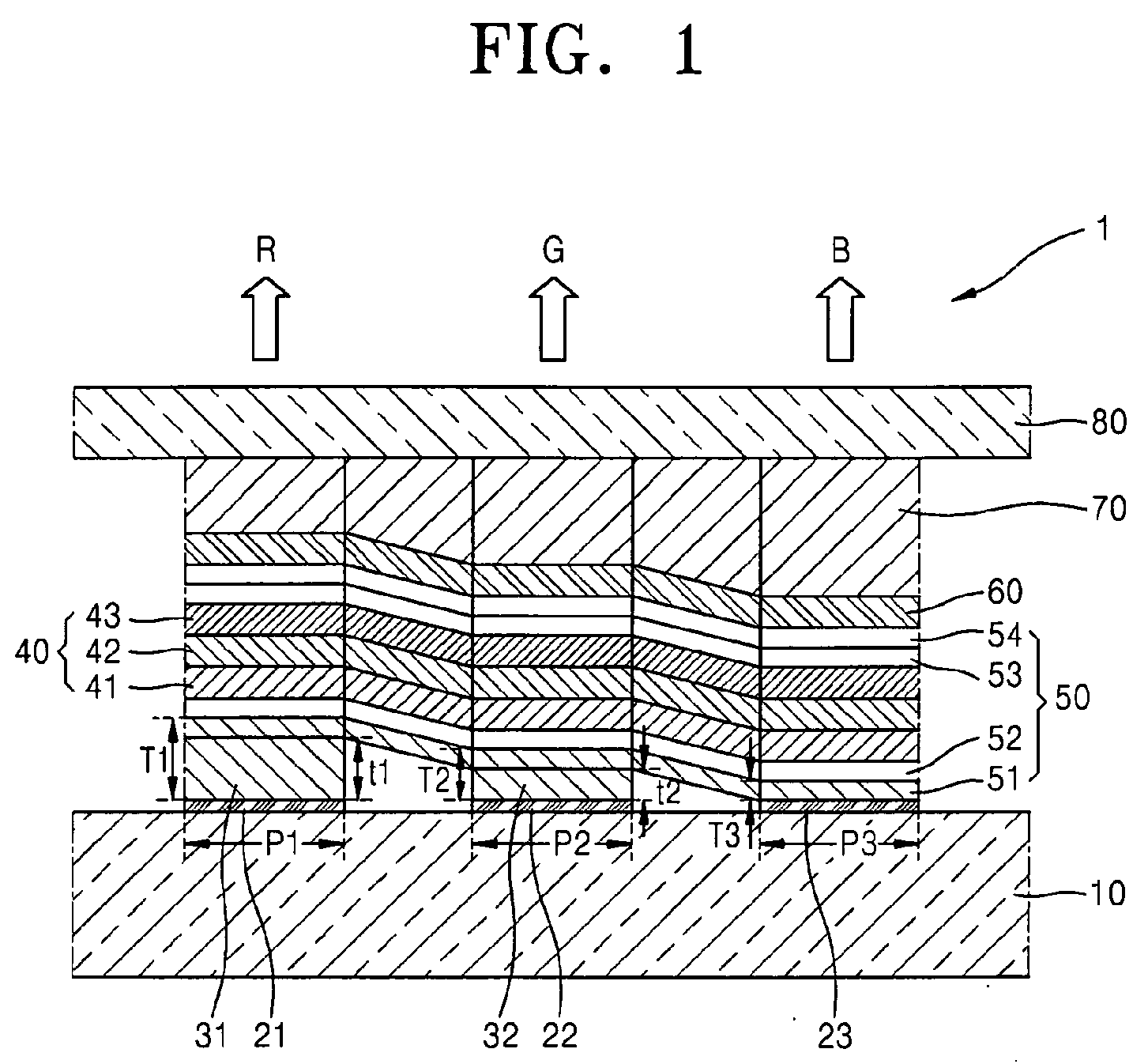
标题:
Organic light-emitting display device
授权日:
1900-01-01
公开(公告)号:
EP2296203A2
申请日:
2010-09-15
公开(公告)日:
2011-03-16
当前申请(专利权)人:
SAMSUNG DISPLAY CO., LTD.
发明人:
JO. JAE YOUNG
简单同族:
CN102024844A | CN102024844B | EP2296203A2 | EP2296203A3 | JP2011065992A | KR101058109B1 | KR1020110029311A | US20110062475A1 | US8288784
简单同族成员数量:
9
简单同族被引用专利总数:
135
诉讼案件数:
0
法律状态/事件:
撤回 | 权利转移