首页
专利数据库
产业人才
行业动态
产业政策法规
维权援助
个人中心
登录/注册
详情
文本
图像
标题:
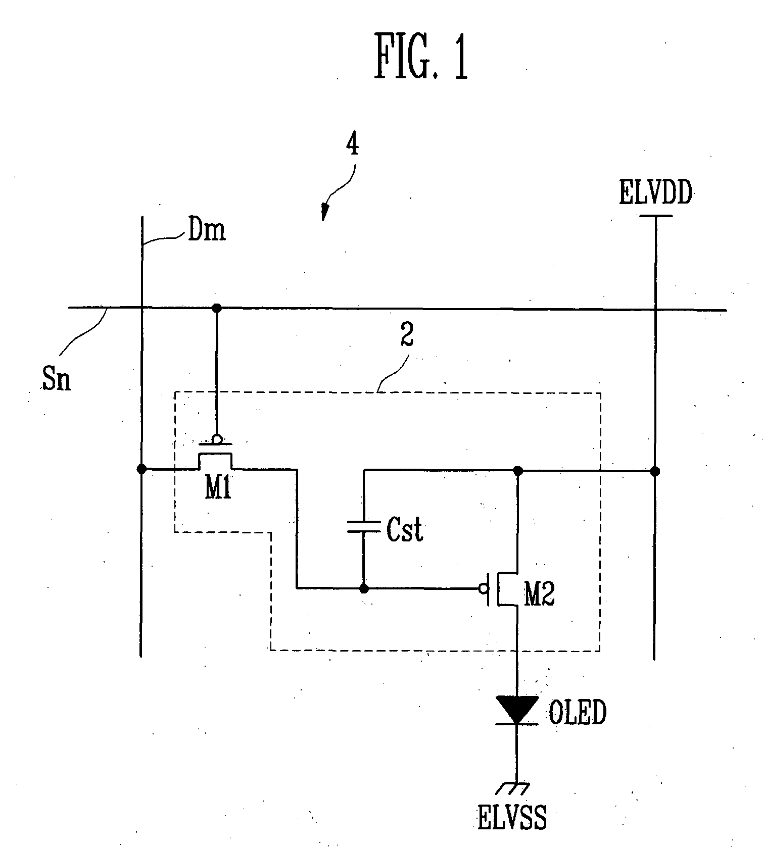
Organic light emitting display and driving method thereof
授权日:
2016-10-12
公开(公告)号:
EP2133860B1
申请日:
2009-06-10
公开(公告)日:
2016-10-12
当前申请(专利权)人:
SAMSUNG DISPLAY CO., LTD.
发明人:
KIM, YANG-WAN
简单同族:
CN101615379A | CN101615379B | EP2133860A1 | EP2133860B1 | JP2009301037A | KR101073323B1 | KR1020090129336A | US20090309818A1 | US8405582
简单同族成员数量:
9
简单同族被引用专利总数:
117
诉讼案件数:
0
法律状态/事件:
授权 | 权利转移