标题:
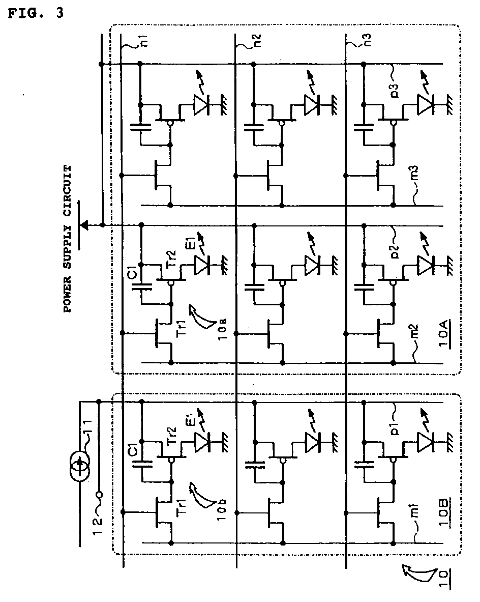
Active drive type light emitting display device and drive control method thereof
授权日:
1900-01-01
公开(公告)号:
EP1450345A2
申请日:
2004-02-12
公开(公告)日:
2004-08-25
当前申请(专利权)人:
TOHOKU PIONEER CORPORATION
发明人:
YOSHIDA, TAKAYOSHI
简单同族:
CN100378778C | CN1523558A | EP1450345A2 | JP2004252036A | JP4571375B2 | KR100959085B1 | KR1020040074607A | TW200416664A | TWI234757B | US20040160395A1 | US7248255
简单同族成员数量:
11
简单同族被引用专利总数:
66
诉讼案件数:
0
法律状态/事件:
撤回