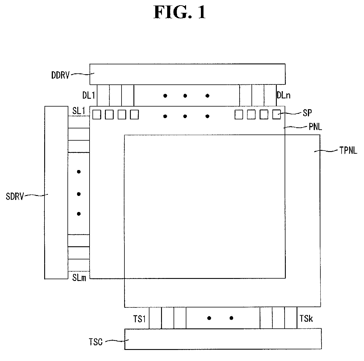
标题:
Organic light emitting diode touch screen
授权日:
1900-01-01
公开(公告)号:
EP2261986A2
申请日:
2009-09-15
公开(公告)日:
2010-12-15
当前申请(专利权)人:
LG DISPLAY CO., LTD.
发明人:
LEE, JAEDO | CHOI, HOWON | SEO, SANGWOO
简单同族:
CN101908314A | CN101908314B | EP2261986A2 | EP2261986A3 | EP2869346A2 | EP2869346A3 | JP2010282171A | JP5290128B2 | KR101323434B1 | KR1020100131797A | US20100309150A1 | US8599149
简单同族成员数量:
12
简单同族被引用专利总数:
81
诉讼案件数:
0
法律状态/事件:
撤回