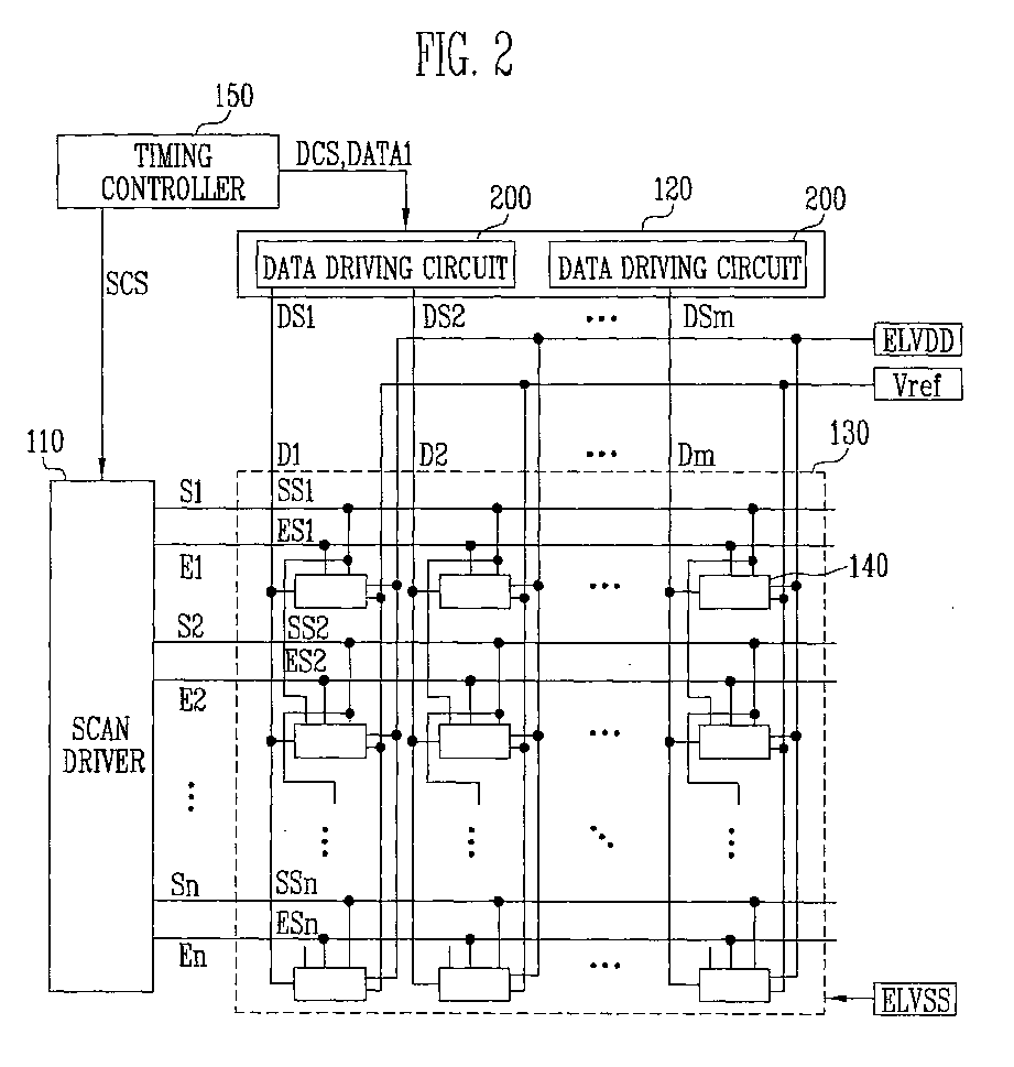
标题:
Data driving circuits and organic light emitting diode display using the same
授权日:
1900-01-01
公开(公告)号:
EP1750247A3
申请日:
2006-08-01
公开(公告)日:
2008-01-23
当前申请(专利权)人:
IUCF-HYU (INDUSTRY-UNIVERSITY COOPERATION FOUNDATI | SAMSUNG DISPLAY CO., LTD.
发明人:
CHUNG, BO YONG SAMSUNG SDI CO. LTD. | RYU, DO HYUNG SAMSUNG SDI CO. LTD. | KWON, OH KYONG SAMSUNG SDI CO. LTD.
简单同族:
CN1909047A | CN1909047B | EP1750247A2 | EP1750247A3 | JP2007041523A | JP4890917B2 | KR100703492B1 | KR1020070015828A | US20070085781A1 | US7893898
简单同族成员数量:
10
简单同族被引用专利总数:
65
诉讼案件数:
0
法律状态/事件:
驳回 | 权利转移