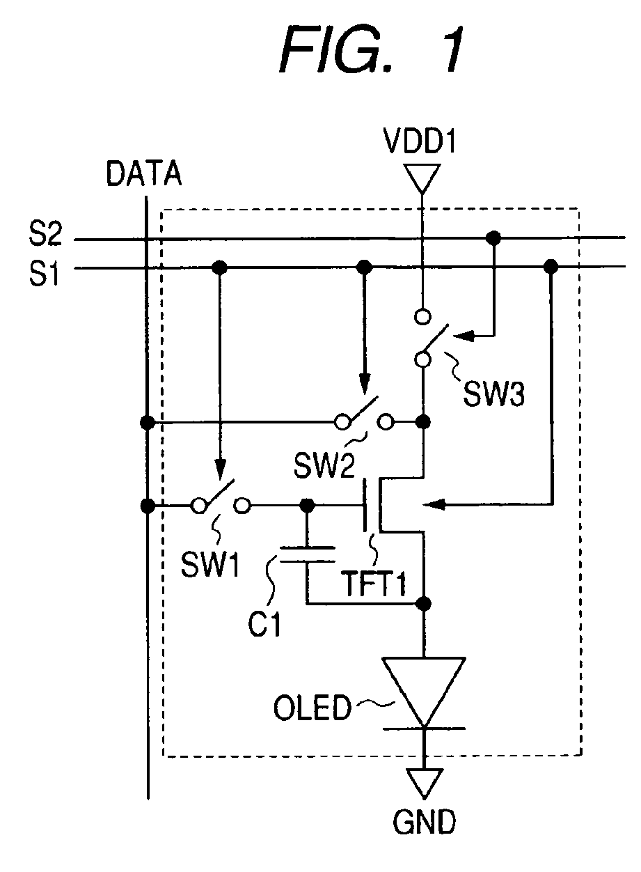
标题:
Pixel circuit, light emitting display device and driving method thereof
授权日:
1900-01-01
公开(公告)号:
EP2161706A3
申请日:
2009-08-28
公开(公告)日:
2011-05-18
当前申请(专利权)人:
CANON KABUSHIKI KAISHA
发明人:
ABE, KATSUMI | TAKAHASHI, KENJI | HAYASHI, RYO | KUMOMI, HIDEYA
简单同族:
CN101667391A | CN101667391B | EP2161706A2 | EP2161706A3 | JP2010060816A | JP5207885B2 | KR101125595B1 | KR1020100027986A | TW201011719A | TWI419117B | US20100053041A1 | US8659519
简单同族成员数量:
12
简单同族被引用专利总数:
122
诉讼案件数:
0
法律状态/事件:
撤回