标题:
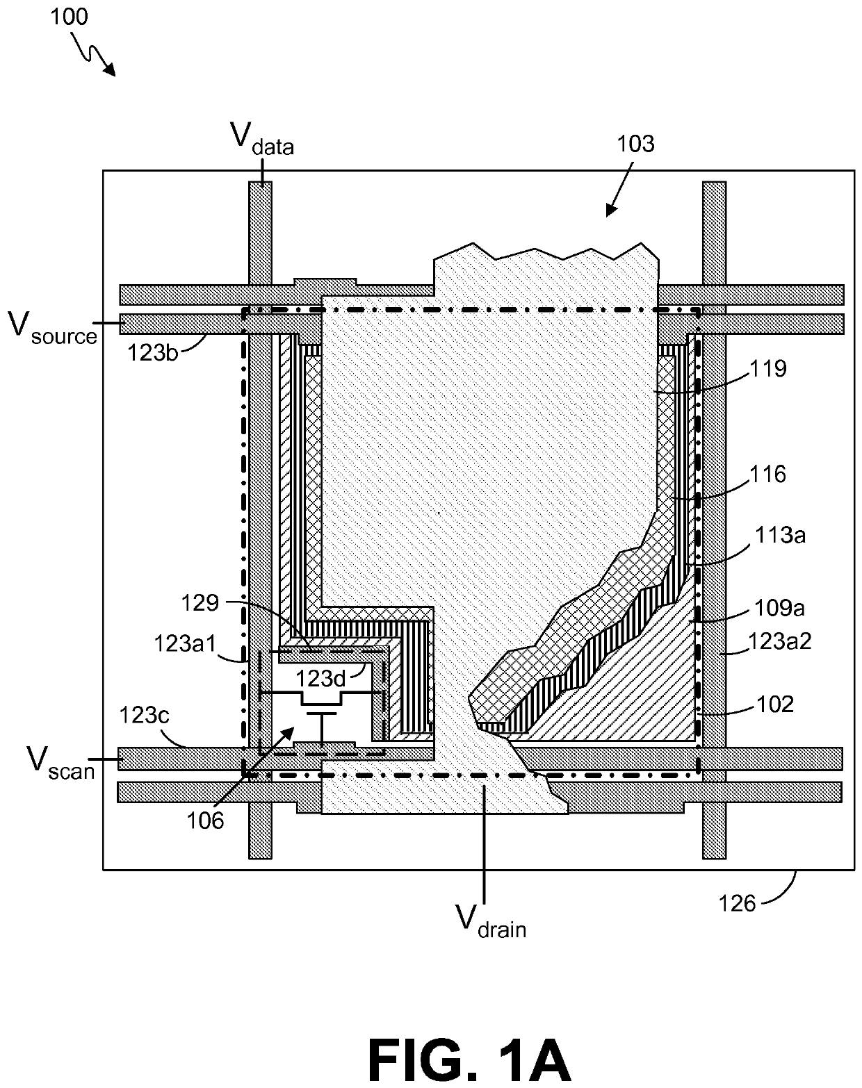
Active matrix display comprising a dilute source enabled vertical organic light emitting transistor
授权日:
2020-05-06
公开(公告)号:
EP2649659B1
申请日:
2011-12-07
公开(公告)日:
2020-05-06
当前申请(专利权)人:
UNIVERSITY OF FLORIDA RESEARCH FOUNDATION, INC.
发明人:
RINZLER, ANDREW, GABRIEL | MCCARTHY, MITCHELL, AUSTIN | LIU, BO
简单同族:
AU2011338460A1 | BR112013013873A2 | CA2820256A1 | CN103460424A | CN103460424B | CN106887449A | EP2649659A2 | EP2649659A4 | EP2649659B1 | JP2014505324A | JP2014505324A5 | JP6272030B2 | KR101943595B1 | KR1020130130011A | MX2013006233A | RU2013131102A | SG190313A1 | US20130240842A1 | US9214644 | WO2012078759A2 | WO2012078759A3
简单同族成员数量:
21
简单同族被引用专利总数:
74
诉讼案件数:
0
法律状态/事件:
授权 | 权利转移