标题:
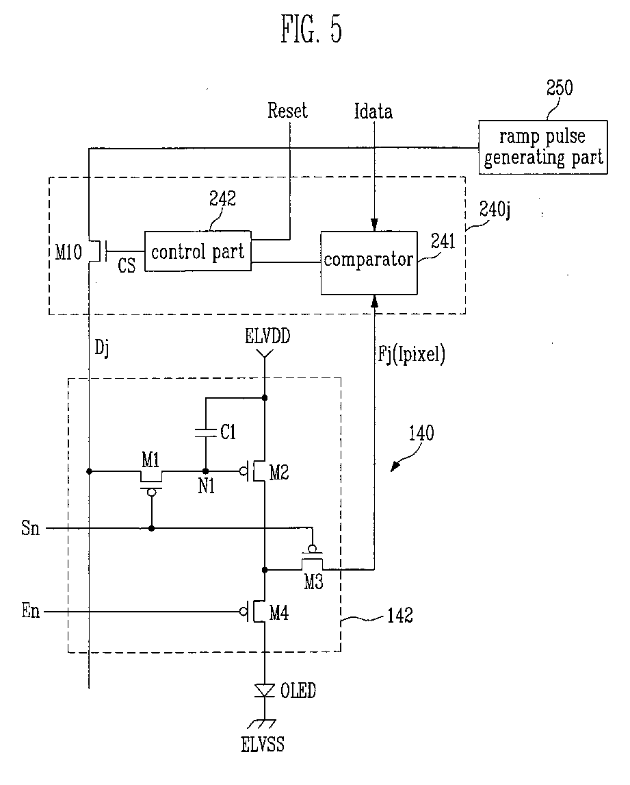
Organic light emitting display device and driving method of the same
授权日:
1900-01-01
公开(公告)号:
EP1826744A3
申请日:
2007-02-28
公开(公告)日:
2008-10-01
当前申请(专利权)人:
SAMSUNG DISPLAY CO., LTD. | IUCF-HYU (INDUSTRY-UNIVERSITY COOPERATION FOUNDATI
发明人:
KWON, OH KYONG
简单同族:
CN101030353A | CN101030353B | EP1826744A2 | EP1826744A3 | JP2007233326A | KR100671669B1 | US20070200804A1 | US7834826
简单同族成员数量:
8
简单同族被引用专利总数:
64
诉讼案件数:
0
法律状态/事件:
撤回 | 权利转移