标题:
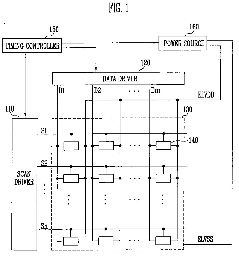
Organic light emitting display and method of driving the same
授权日:
1900-01-01
公开(公告)号:
EP2317499A2
申请日:
2010-07-20
公开(公告)日:
2011-05-04
当前申请(专利权)人:
SAMSUNG DISPLAY CO., LTD.
发明人:
CHOI, SANG-MOO | KIM, DO-YOUB | AHN, SOON-SUNG | JANG, BRENT
简单同族:
CN102044214A | CN102044214B | EP2317499A2 | EP2317499A3 | JP2011081336A | JP5652810B2 | KR101100947B1 | KR1020110038915A | US20110084958A1 | US9437134
简单同族成员数量:
10
简单同族被引用专利总数:
86
诉讼案件数:
0
法律状态/事件:
撤回 | 权利转移