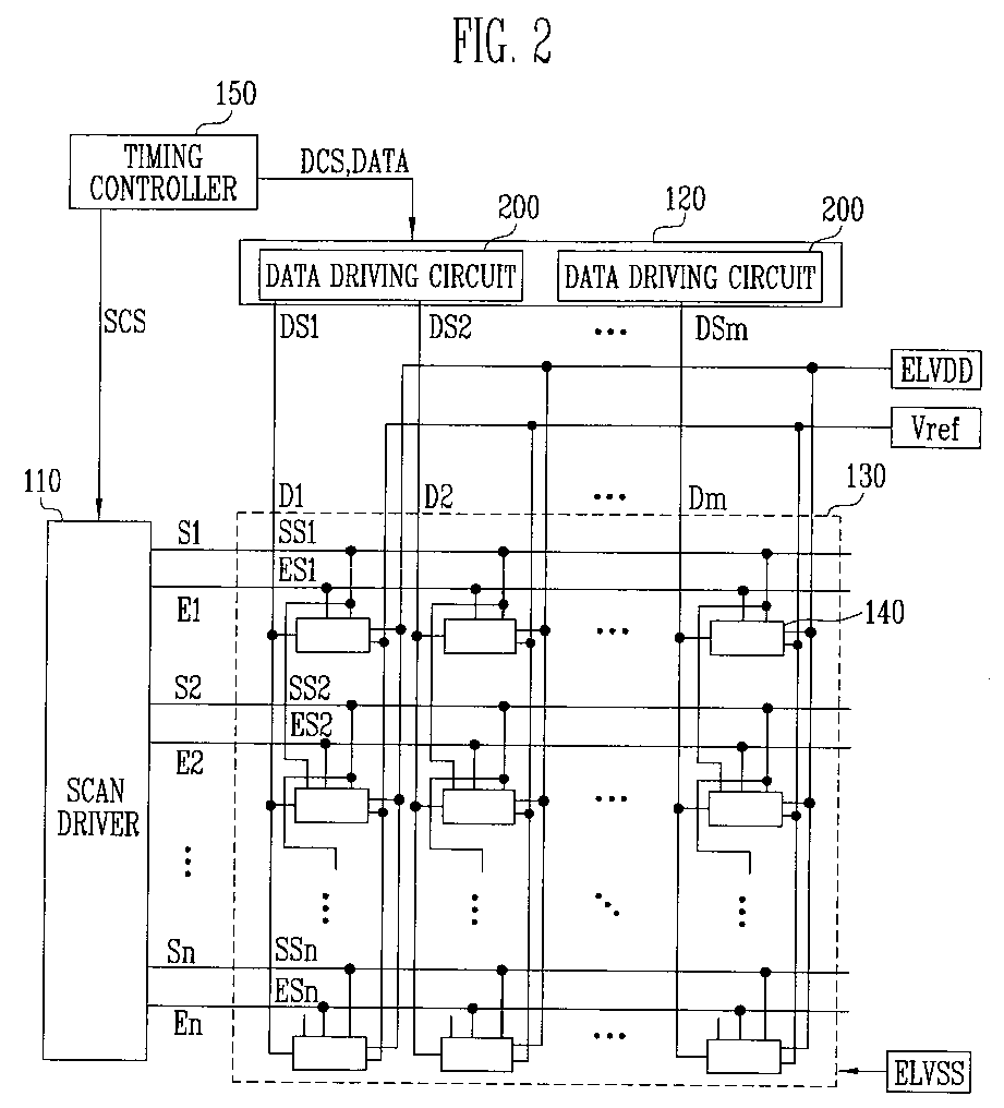
标题:
Data driving circuits and driving methods of organic light emitting displays using the same
授权日:
1900-01-01
公开(公告)号:
EP1758085A3
申请日:
2006-08-01
公开(公告)日:
2007-09-12
当前申请(专利权)人:
IUCF-HYU (INDUSTRY-UNIVERSITY COOPERATION FOUNDATI | SAMSUNG MOBILE DISPLAY CO., LTD.
发明人:
CHUNG, BO YONG SAMSUNG SDI CO., LTD. | RYU, DO HYUNG SAMSUNG SDI CO., LTD. | KIM, HONG KWON SAMSUNG SDI CO., LTD. | KWON, OH KYONG SAMSUNG SDI CO., LTD.
简单同族:
CN100476931C | CN1909042A | EP1758085A2 | EP1758085A3 | EP1758085B1 | JP2007041531A | JP4790486B2 | KR100703463B1 | KR1020070015826A | US20070024544A1 | US7944418
简单同族成员数量:
11
简单同族被引用专利总数:
68
诉讼案件数:
0
法律状态/事件:
授权 | 权利转移