标题:
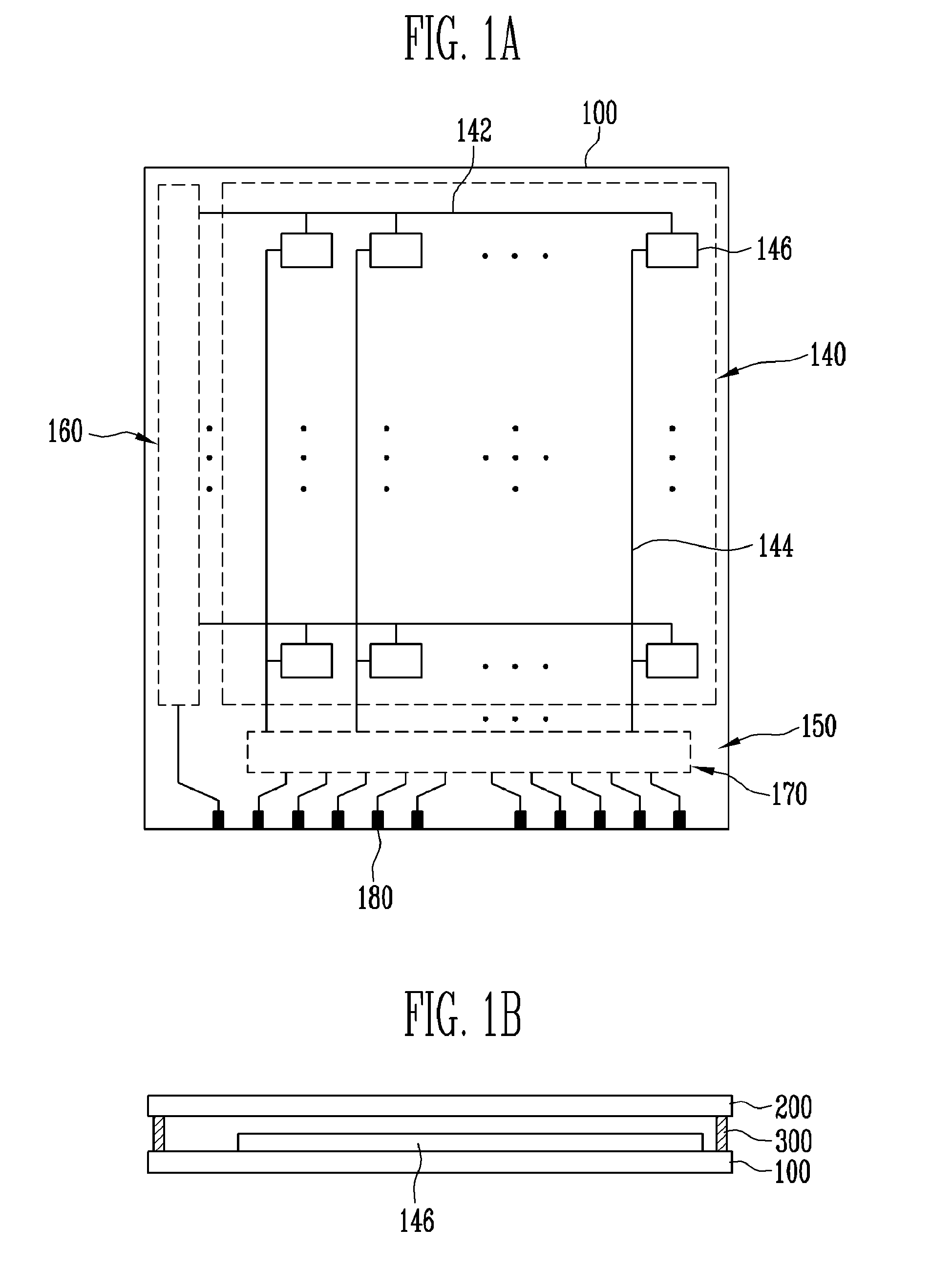
Organic light emitting display device and method of manufacturing the same
授权日:
1900-01-01
公开(公告)号:
EP2207206A1
申请日:
2010-01-11
公开(公告)日:
2010-07-14
当前申请(专利权)人:
SAMSUNG MOBILE DISPLAY CO., LTD.
发明人:
PARK, JIN-SEONG | MO, YEON-GON | CHUNG, HYUN-JOONG | JEONG, JAE-KYEONG | KIM, MIN-KYU | AHN, TAE-KYUNG
简单同族:
AT523898T | CN101794809A | CN101794809B | EP2207206A1 | EP2207206B1 | JP2010161327A | JP5274327B2 | KR101034686B1 | KR1020100082940A | TW201030967A | TWI423436B | US20100176383A1 | US8436342
简单同族成员数量:
13
简单同族被引用专利总数:
130
诉讼案件数:
0
法律状态/事件:
授权