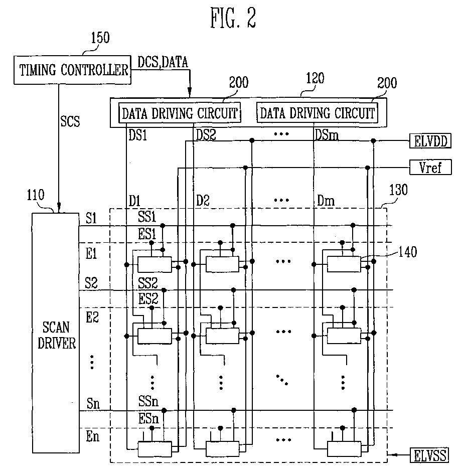
标题:
Data driving circuit, organic light emitting diode display using the same, and method of driving the organic light emitting diode display
授权日:
1900-01-01
公开(公告)号:
EP1750246A3
申请日:
2006-08-01
公开(公告)日:
2007-10-31
当前申请(专利权)人:
SAMSUNG DISPLAY CO., LTD. | IUCF-HYU (INDUSTRY-UNIVERSITY COOPERATION FOUNDATI
发明人:
CHUNG, BO YONG SAMSUNG SDI CO. LTD. | RYU, DO HYUNG SAMSUNG SDI CO. LTD. | KWON, OH KYONG SAMSUNG SDI CO. LTD.
简单同族:
CN100481181C | CN1909041A | EP1750246A2 | EP1750246A3 | EP1750246B1 | JP2007041586A | JP4790526B2 | KR100703500B1 | KR1020070015829A | US20070024543A1 | US7911427
简单同族成员数量:
11
简单同族被引用专利总数:
88
诉讼案件数:
0
法律状态/事件:
授权 | 权利转移