首页
专利数据库
产业人才
行业动态
产业政策法规
维权援助
个人中心
登录/注册
详情
文本
图像
标题:
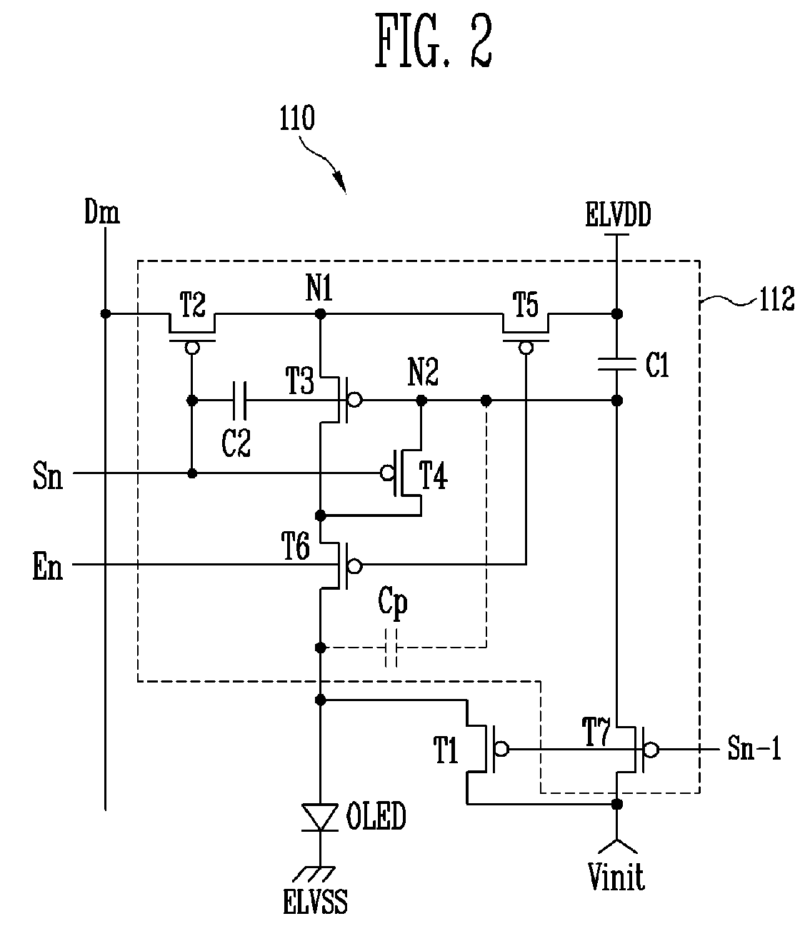
Pixel and organic light emitting display device using the same
授权日:
1900-01-01
公开(公告)号:
EP2146337A1
申请日:
2009-07-17
公开(公告)日:
2010-01-20
当前申请(专利权)人:
SAMSUNG MOBILE DISPLAY CO., LTD.
发明人:
KWAK, WON-KYU
简单同族:
CN101630481A | EP2146337A1 | JP2010026488A | KR1020100009219A | US20100013816A1 | US8237634
简单同族成员数量:
6
简单同族被引用专利总数:
125
诉讼案件数:
0
法律状态/事件:
撤回