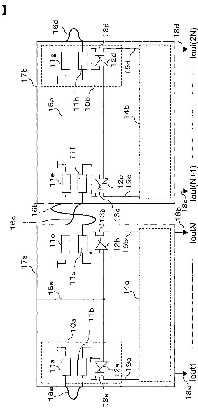
标题:
有機発光素子を用いた表示装置
授权日:
2010-07-30
公开(公告)号:
JP4559847B2
申请日:
2003-04-23
公开(公告)日:
2010-10-13
当前申请(专利权)人:
東芝モバイルディスプレイ株式会社
发明人:
柘植 仁志
简单同族:
CN100536347C | CN1643796A | JP4559847B2 | JPWO2003092165A1 | JPWO2003092165A5 | KR100674542B1 | KR1020050002863A | TW200401243A | TWI264692B | US20050219162A1 | US20070120784A1 | US7180513 | US7817149 | WO2003092165A1
简单同族成员数量:
14
简单同族被引用专利总数:
67
诉讼案件数:
0
法律状态/事件:
未缴年费 | 权利转移