首页
专利数据库
产业人才
行业动态
产业政策法规
维权援助
个人中心
登录/注册
详情
文本
图像
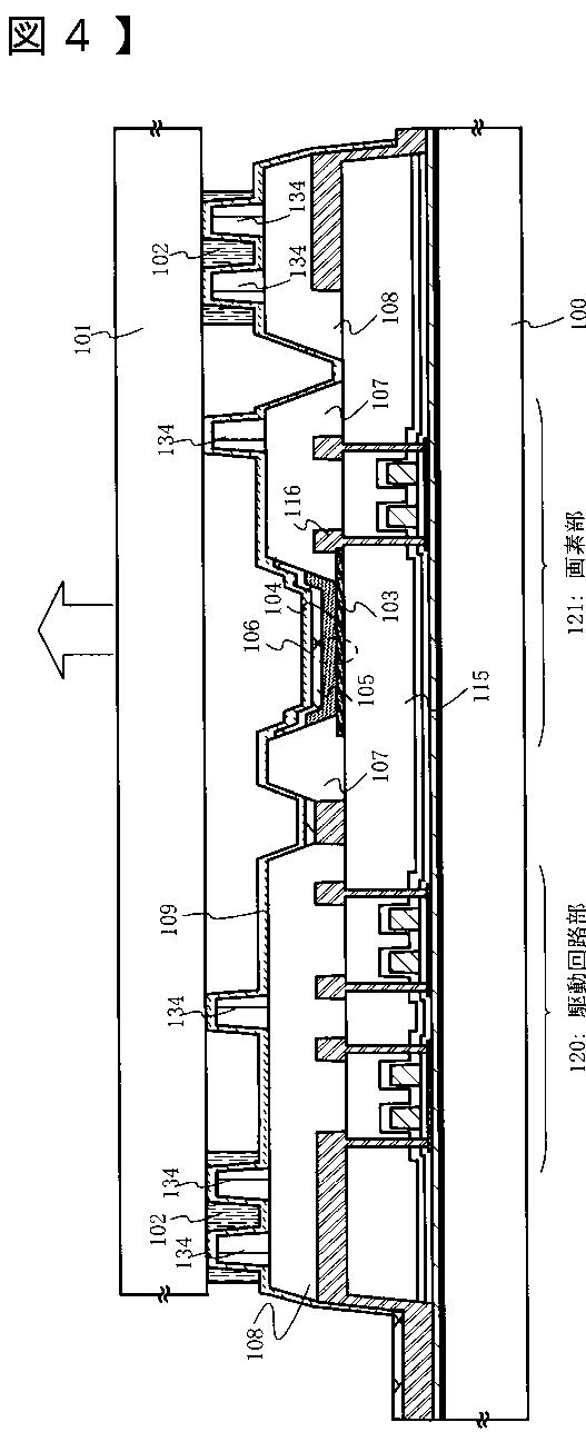
标题:
表示装置及びその作製方法
授权日:
2008-03-28
公开(公告)号:
JP4101529B2
申请日:
2002-02-19
公开(公告)日:
2008-06-18
当前申请(专利权)人:
株式会社半導体エネルギー研究所
发明人:
山崎 舜平 | 小山 潤 | 西 毅 | 佐竹 瑠茂
简单同族:
JP2002324666A | JP2002324666A5 | JP4101529B2
简单同族成员数量:
3
简单同族被引用专利总数:
143
诉讼案件数:
0
法律状态/事件:
授权