首页
专利数据库
产业人才
行业动态
产业政策法规
维权援助
个人中心
登录/注册
详情
文本
图像
标题:
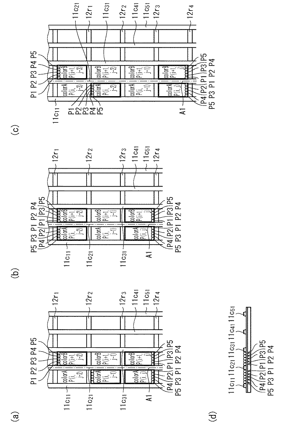
バンクリペアに伴う連続滅点の発生を減少させる有機EL表示パネル及びその製造方法
授权日:
1900-01-01
公开(公告)号:
JP2018101558A
申请日:
2016-12-21
公开(公告)日:
2018-06-28
当前申请(专利权)人:
株式会社JOLED
发明人:
鬼丸 俊昭
简单同族:
JP2018101558A
简单同族成员数量:
1
简单同族被引用专利总数:
0
诉讼案件数:
0
法律状态/事件:
公开 | 权利转移