首页
专利数据库
产业人才
行业动态
产业政策法规
维权援助
个人中心
登录/注册
详情
文本
图像
标题:
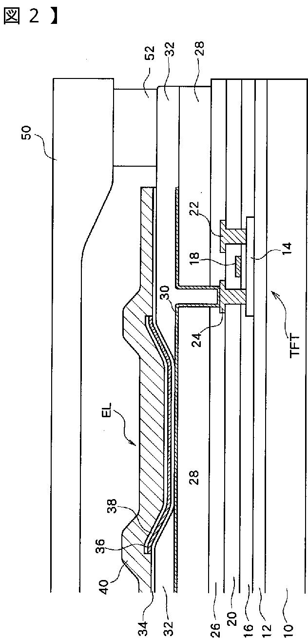
有機ELパネル
授权日:
2008-08-15
公开(公告)号:
JP4171258B2
申请日:
2002-07-25
公开(公告)日:
2008-10-22
当前申请(专利权)人:
三洋電機株式会社
发明人:
米田 清 | 西川 龍司
简单同族:
CN100344010C | CN1481199A | JP2004063126A | JP4171258B2 | KR100517258B1 | KR1020040010370A | TW200402245A | TWI256857B | US20040069987A1 | US6924508
简单同族成员数量:
10
简单同族被引用专利总数:
60
诉讼案件数:
0
法律状态/事件:
授权